Качественные детали и логистика
Оригинальные и аналоговые запчасти с доставкой по России, Казахстану и Беларуси
©2022 PartSell ООО "Система" ИНН 2463123282 ОГРН 1212400004838
Центральный офис: г. Красноярск, Академика Киренского, д.87, пом.4
Телефон: 8 (800) 777-65-74 Email: zakaz@partsell.ru
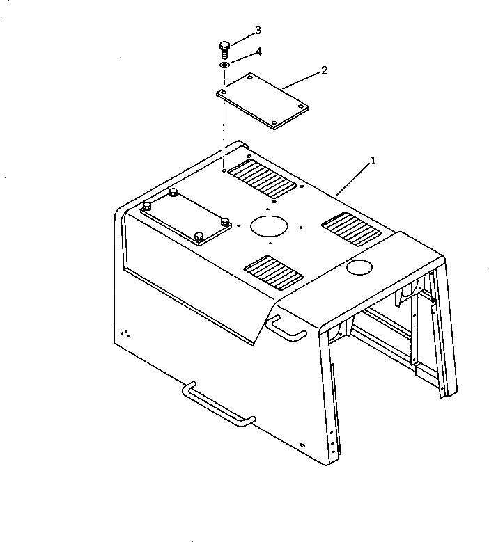
SNOW ЗАЩИТА(№-9999)
№
Артикул
Название
Примечание
Количество
1
419-Z03-1120
HOOD,(MODIFIED PART)
SN: 10001-19999
1шт.
2
419-Z03-1110
PLATE
SN: 10001-@
2шт.
3
01010-51230
BOLT
8шт.
4
01643-31232
WASHER
Выбрано товаров: 0