Запчасти Komatsu WA300-1 ЭЛЕКТРИКА (КОНСОЛЬН. БЛОК¤ ПРАВ.)(№-9999) КОМПОНЕНТЫ ДВИГАТЕЛЯ И ЭЛЕКТРИКА

Схема запчастей Komatsu WA300-1 - ЭЛЕКТРИКА (КОНСОЛЬН. БЛОК¤ ПРАВ.)(№-9999) КОМПОНЕНТЫ ДВИГАТЕЛЯ И ЭЛЕКТРИКА
FIT
1:1
100%

Артикул

Название

Примечание

Количество

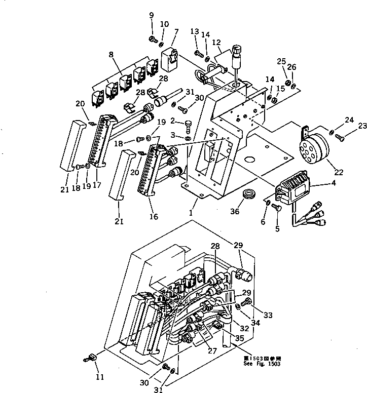
1

419-06-11131

BOX

SN: 10001-19999

1шт.

2

01010-50820

BOLT

SN: 10001-@

4шт.

3

01643-30823

WASHER

SN: 10001-@

4шт.

4

7861-72-3000

CONTROLLER ASS'Y

SN: 11115-19999

1шт.

4

0

CONTROLLER ASS'Y

SN: 10001-11114

1шт.

5

01010-50616

BOLT

SN: 11115-19999

4шт.

5

01010-50612

BOLT

SN: 10001-11114

4шт.

6

01643-30623

WASHER

SN: 10001-@

4шт.

7

22W-06-13251

FLASHER

SN: 10001-19999

1шт.

8

287-06-16410

RELAY

SN: 11052-19999

6шт.

8

287-06-16410

RELAY

SN: 10001-11051

5шт.

9

01010-50612

BOLT

SN: 11052-19999

7шт.

9

01010-50612

BOLT

SN: 10001-11051

6шт.

10

01643-30623

WASHER

SN: 11052-19999

7шт.

10

01643-30623

WASHER

SN: 10001-11051

6шт.

11

424-06-12240

CONNECTOR

SN: 10001-@

1шт.

12

195-822-6151

LIGHTER

SN: 10001-@

1шт.

13

01220-40410

SCREW

SN: 10001-@

2шт.

14

01641-20405

WASHER

SN: 10001-19999

4шт.

15

01580-10403

NUT

SN: 10001-19999

2шт.

16

419-06-12380

BOX ASS'Y,FUSE

SN: 10001-@

1шт.

17

419-06-12370

BOX ASS'Y,FUSE

SN: 10001-@

1шт.

18

01220-40620

SCREW

SN: 10001-@

4шт.

19

01641-20608

WASHER

SN: 10001-@

4шт.

20

283-06-16190

FUSE, 10A

SN: 10001-@

22шт.

20

22W-06-13160

FUSE, 20A

SN: 10001-@

5шт.

21

283-06-16120

COVER

SN: 10001-@

2шт.

22

08166-02480

BUZZER

SN: 10001-19999

1шт.

23

01220-40616

SCREW

SN: 10001-19999

2шт.

24

01640-20610

WASHER

SN: 10001-19999

2шт.

25

01580-10605

NUT

SN: 10001-19999

2шт.

26

01602-20619

WASHER,SPRING

SN: 10001-19999

2шт.

27

283-06-17130

CLIP

SN: 10001-19999

3шт.

28

08052-02411

CLIP

SN: 10001-@

3шт.

29

08052-02711

CLIP

SN: 10001-@

3шт.

30

01220-40608

SCREW

SN: 10001-19999

9шт.

31

01641-20608

WASHER

SN: 10001-19999

9шт.

32

08036-03014

CLIP

SN: 10001-@

1шт.

33

01010-51016

BOLT

SN: 10001-@

1шт.

34

01643-31032

WASHER

SN: 10001-@

1шт.

35

08036-10614

CLIP

SN: 10001-@

1шт.

36

08037-02512

GROMMET

SN: 10001-@

1шт.

Выбрано товаров: 0