Запчасти Komatsu WA300-1 КОНДИЦ. ВОЗДУХА (/) (DAIKIN)(№-9999) РАМА И ЧАСТИ КОРПУСА

Схема запчастей Komatsu WA300-1 - КОНДИЦ. ВОЗДУХА (/) (DAIKIN)(№-9999) РАМА И ЧАСТИ КОРПУСА
FIT
1:1
100%

Артикул

Название

Примечание

Количество

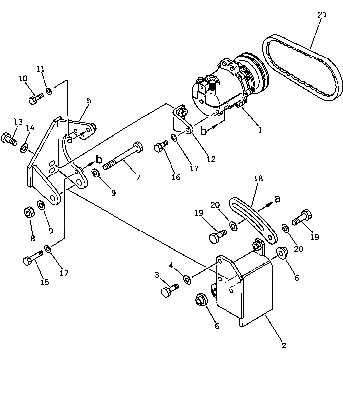
1

421-07-11712

COMPRESSOR ASS'Y

SN: 10001-@

1шт.

2

424-07-11210

BRACKET

SN: 10001-19999

1шт.

3

01010-51235

BOLT

SN: 10001-@

3шт.

4

01643-31232

WASHER

SN: 10001-@

3шт.

5

424-07-11220

BRACKET

SN: 10001-19999

1шт.

6

419-07-11760

COLLAR

SN: 10001-19999

2шт.

7

01011-51245

BOLT

SN: 10001-19999

1шт.

8

01580-11210

NUT

SN: 10001-19999

1шт.

9

01643-31232

WASHER

SN: 10001-19999

2шт.

10

01010-51030

BOLT

SN: 10001-19999

2шт.

11

01643-31032

WASHER

SN: 10001-19999

2шт.

12

424-07-11230

BRACKET

SN: 10001-19999

1шт.

13

01010-51030

BOLT

SN: 10001-19999

2шт.

14

01643-31032

WASHER

SN: 10001-19999

2шт.

15

01010-51050

BOLT

SN: 10001-19999

1шт.

16

01010-51025

BOLT

SN: 10001-19999

1шт.

17

01643-31032

WASHER

SN: 10001-19999

2шт.

18

424-07-11240

PLATE,ADJUST

SN: 10001-19999

1шт.

19

01010-51235

BOLT

SN: 10001-19999

2шт.

20

01643-31232

WASHER

SN: 10001-19999

2шт.

21

04120-21744

V-BELT

SN: 10001-@

1шт.

Выбрано товаров: 21