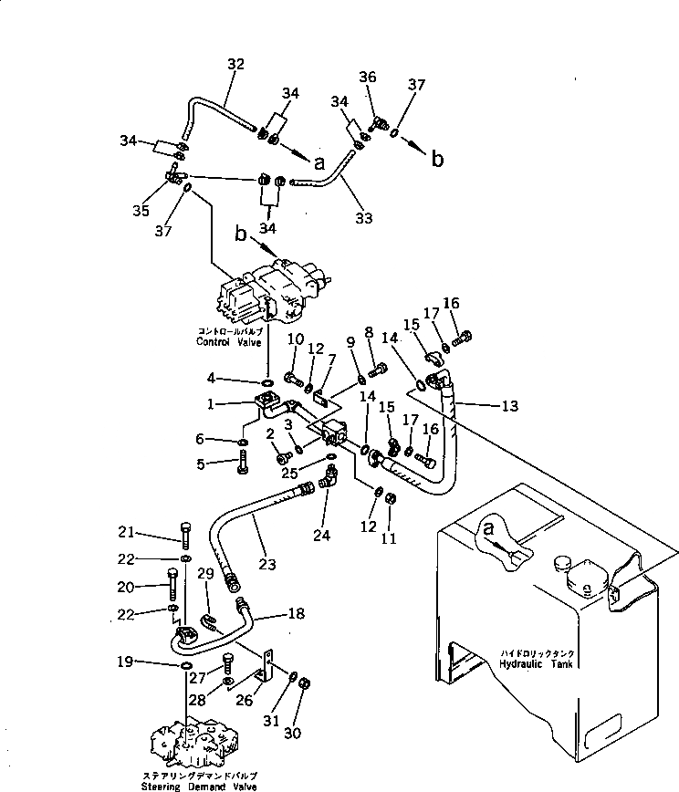
Запчасти Komatsu WA300-1 ГИДРОЛИНИЯ (ЛИНИЯ ГИДРОЦИЛИНДРА ПОДЪЕМА)(№-9999) УПРАВЛ-Е РАБОЧИМ ОБОРУДОВАНИЕМ

Схема запчастей Komatsu WA300-1 - ГИДРОЛИНИЯ (ЛИНИЯ ГИДРОЦИЛИНДРА ПОДЪЕМА)(№-9999) УПРАВЛ-Е РАБОЧИМ ОБОРУДОВАНИЕМ
FIT
1:1
100%

Артикул

Название

Примечание

Количество

1

07124-01007

HOSE

SN: 10001-19999

2шт.

2

419-62-13210

FLANGE

SN: 10001-@

1шт.

3

07000-13032

O-RING

SN: 10001-@

5шт.

4

07371-31049

FLANGE

SN: 10001-@

8шт.

5

01010-31080

BOLT

SN: 10001-@

4шт.

6

07372-01035

BOLT

SN: 10001-@

12шт.

7

01643-51032

WASHER

SN: 10001-@

16шт.

8

419-62-13230

TUBE

SN: 10001-19999

1шт.

9

419-62-13250

TUBE

SN: 10001-19999

1шт.

10

01010-31025

BOLT

SN: 10001-19999

2шт.

11

01643-31032

WASHER

SN: 10001-19999

2шт.

12

07125-01009

HOSE

SN: 10001-19999

2шт.

13

07000-13032

O-RING

SN: 10001-19999

4шт.

14

07371-31049

FLANGE

SN: 10001-19999

8шт.

15

07372-01035

BOLT

SN: 10001-19999

16шт.

16

01643-51032

WASHER

SN: 10001-19999

16шт.

17

419-62-13290

BLOCK

SN: 10001-19999

1шт.

18

07042-20108

PLUG

SN: 10001-@

1шт.

19

01010-31235

BOLT

SN: 10001-19999

2шт.

20

01643-31232

WASHER

SN: 10001-@

2шт.

21

419-62-13321

TUBE

SN: 10001-19999

1шт.

22

419-62-13311

TUBE

SN: 10001-19999

1шт.

23

07000-13035

O-RING

SN: 10001-@

2шт.

24

01010-31045

BOLT

SN: 10001-@

8шт.

25

01643-31032

WASHER

SN: 10001-@

8шт.

26

419-62-13351

TUBE

SN: 10001-19999

1шт.

27

419-62-13341

TUBE

SN: 10001-19999

1шт.

28

07000-13030

O-RING

SN: 10001-@

2шт.

29

01010-30835

BOLT

SN: 10001-@

8шт.

30

01643-30823

WASHER

SN: 10001-@

8шт.

31

419-62-13580

HOSE

SN: 10001-19999

4шт.

32

07000-13025

O-RING

SN: 10001-19999

8шт.

33

07371-30638

FLANGE

SN: 10001-19999

16шт.

34

01010-30830

BOLT

SN: 10001-19999

32шт.

35

01643-50823

WASHER

SN: 10001-19999

32шт.

36

419-62-13360

TUBE

SN: 10001-19999

2шт.

37

419-62-13370

TUBE

SN: 10001-19999

2шт.

38

07000-13035

O-RING

SN: 10001-@

4шт.

39

07372-01055

BOLT

SN: 10001-@

8шт.

40

07372-01050

BOLT

SN: 10001-@

8шт.

41

01643-31032

WASHER

SN: 10001-@

16шт.

42

419-62-13272

PLATE

SN: 10001-19999

1шт.

43

419-62-13280

PLATE

SN: 10001-19999

1шт.

44

01010-31025

BOLT

SN: 10001-19999

4шт.

45

01643-31032

WASHER

SN: 10001-19999

4шт.

46

07283-23442

CLIP

SN: 10001-19999

2шт.

47

01599-01011

NUT

SN: 10001-19999

4шт.

48

01643-31032

WASHER

SN: 10001-19999

4шт.

49

419-62-13380

PLATE

SN: 10001-@

2шт.

50

419-62-13390

SPACER

SN: 10001-@

2шт.

51

01010-31255

BOLT

SN: 10001-@

2шт.

52

01643-31232

WASHER

SN: 10001-@

2шт.

53

07283-22738

CLIP

SN: 10001-@

8шт.

54

01599-01011

NUT

SN: 10001-@

16шт.

55

01643-31032

WASHER

SN: 10001-@

16шт.

Выбрано товаров: 55