Запчасти Komatsu WA300-1 СОЕДИНИТ. УСТР-ВО ТРУБЫ (/)(№-) УПРАВЛ-Е РАБОЧИМ ОБОРУДОВАНИЕМ

Схема запчастей Komatsu WA300-1 - СОЕДИНИТ. УСТР-ВО ТРУБЫ (/)(№-) УПРАВЛ-Е РАБОЧИМ ОБОРУДОВАНИЕМ
FIT
1:1
100%

Артикул

Название

Примечание

Количество

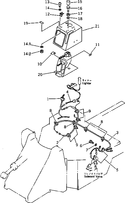
1

419-879-1510

SWITCH

SN: 10001-UP

1шт.

2

418-879-1690

WIRE ASS'Y

SN: 10001-UP

1шт.

3

418-879-1710

WIRE ASS'Y

SN: 10001-UP

1шт.

4

418-V82-1110

WIRE ASS'Y

SN: 10001-UP

1шт.

5

08036-10814

CLIP

SN: 10001-UP

2шт.

6

01010-50816

BOLT

SN: 10001-UP

2шт.

7

01643-30823

WASHER

SN: 10001-UP

2шт.

8

08034-00519

BAND

SN: 10001-UP

4шт.

9

08034-00536

BAND

SN: 10001-UP

4шт.

10

418-879-1910

PLATE,SWITCH

SN: 20001-UP

1шт.

11

521-54-15520

CLIP

SN: 20001-UP

1шт.

12

418-879-1720

HINGE

SN: 10001-UP

1шт.

13

01220-40408

SCREW

SN: 10001-UP

2шт.

14

01641-20405

WASHER

SN: 10001-UP

2шт.

14A

01641-20405

WASHER

SN: 20001-UP

2шт.

14B

01580-00403

NUT

SN: 20001-UP

2шт.

15

417-15-14440

CAP

SN: 20001-UP

1шт.

16

01252-40635

BOLT

SN: 20001-UP

1шт.

17

01580-10605

NUT

SN: 20001-UP

1шт.

18

01643-30623

WASHER

SN: 20001-UP

1шт.

19

416-879-1610

PLATE, OPERATING

SN: 10001-UP

1шт.

20

419-06-11133

BOX

SN: 20001-UP

1шт.

21

418-V82-1131

BOX,(MODIFIED PART)

SN: 20001-UP

1шт.

Выбрано товаров: 23