Запчасти Komatsu WA300-1 КОВШ¤ .M РАБОЧЕЕ ОБОРУДОВАНИЕ

Схема запчастей Komatsu WA300-1 - КОВШ¤ .M РАБОЧЕЕ ОБОРУДОВАНИЕ
FIT
1:1
100%

Артикул

Название

Примечание

Количество

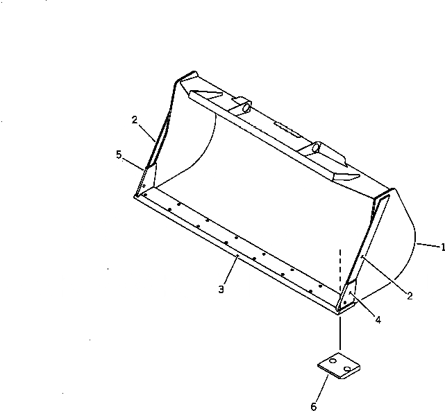
1

419-70-12114

BUCKET,2.3M3

SN: 20001-UP

1шт.

1

0

BUCKET,2.3M3

SN: 10001-19999

1шт.

2

419-70-12130

PLATE (WELDED)

SN: 10001-UP

2шт.

3

419-70-12122

EDGE (WELDED)

SN: 10001-UP

1шт.

4

419-70-12153

PLATE (WELDED)

SN: 20001-UP

1шт.

4

0

PLATE (WELDED)

SN: 10001-19999

1шт.

5

419-70-12163

PLATE (WELDED)

SN: 20001-UP

1шт.

5

0

PLATE (WELDED)

SN: 10001-19999

1шт.

6

419-70-12142

PLATE (WELDED)

SN: 20001-UP

2шт.

6

0

PLATE (WELDED)

SN: 10001-19999

2шт.

Выбрано товаров: 10