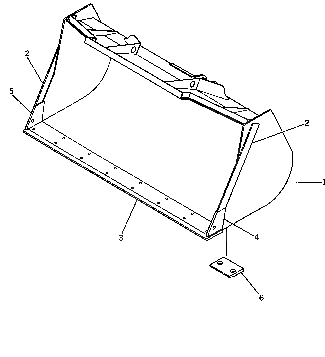
Запчасти Komatsu WA300-1 SNOW КОВШ РАБОЧЕЕ ОБОРУДОВАНИЕ

Схема запчастей Komatsu WA300-1 - SNOW КОВШ РАБОЧЕЕ ОБОРУДОВАНИЕ
FIT
1:1
100%

Артикул

Название

Примечание

Количество

1

419-820-1111

BUCKET,3.0M3

SN: 10001-UP

1шт.

2

419-820-1130

PLATE (WELDED)

SN: 10001-UP

2шт.

3

419-70-12122

EDGE (WELDED)

SN: 10001-UP

1шт.

4

419-70-12152

PLATE (WELDED)

SN: 10001-UP

1шт.

5

419-70-12162

PLATE (WELDED)

SN: 10001-UP

1шт.

6

419-70-12141

PLATE (WELDED)

SN: 10001-UP

2шт.

Выбрано товаров: 6