Запчасти Komatsu WA300-1 КОНСОЛЬН. БЛОК (TBG/ABE СПЕЦ-Я.)(№-9999) СПЕЦ. APPLICATION ЧАСТИ

Схема запчастей Komatsu WA300-1 - КОНСОЛЬН. БЛОК (TBG/ABE СПЕЦ-Я.)(№-9999) СПЕЦ. APPLICATION ЧАСТИ
FIT
1:1
100%

Артикул

Название

Примечание

Количество

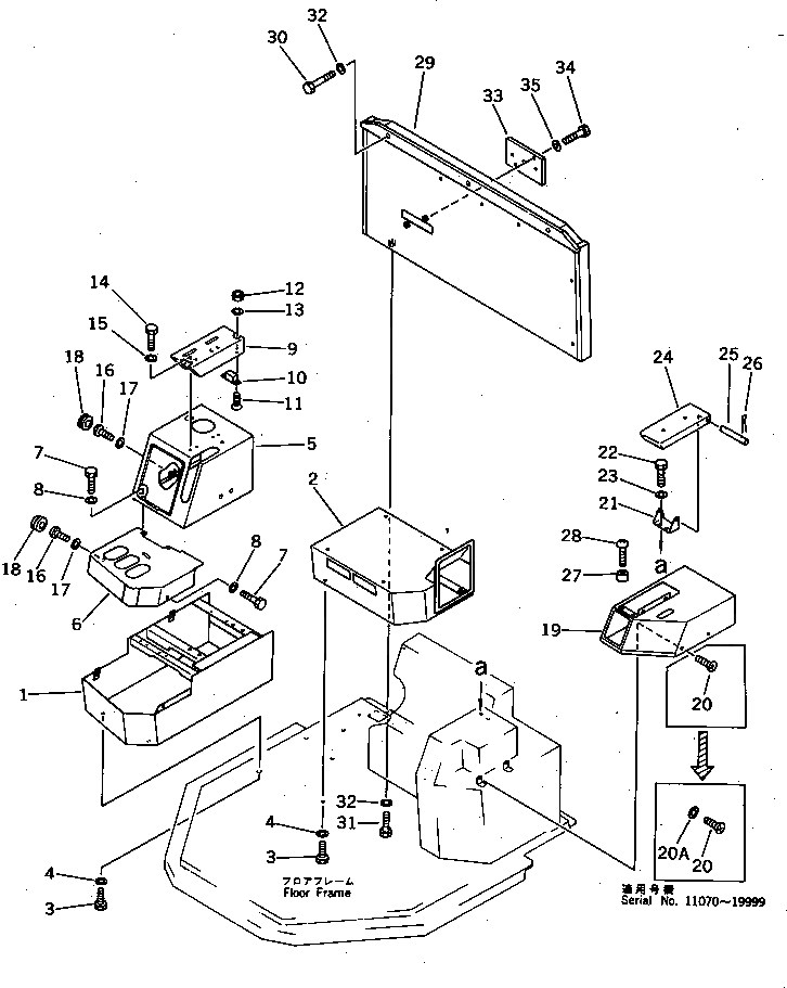
1

419-54-12641

BOX

SN: 10001-19999

1шт.

2

419-54-12242

BOX

SN: 10001-19999

1шт.

3

01010-51225

BOLT

SN: 10001-19999

8шт.

4

01643-31232

WASHER

SN: 10001-19999

8шт.

5

419-54-12652

BOX

SN: 10001-19999

1шт.

6

419-54-12331

COVER

SN: 10001-19999

1шт.

7

01010-50816

BOLT

SN: 10001-19999

5шт.

8

01643-30823

WASHER

SN: 10001-19999

5шт.

9

419-54-12681

BRACKET

SN: 10001-19999

1шт.

10

09452-06506

CATCHER

SN: 10001-19999

1шт.

11

01224-40412

SCREW

SN: 10001-19999

2шт.

12

01580-00403

NUT

SN: 10001-19999

2шт.

13

01601-20410

WASHER,SPRING

SN: 10001-19999

2шт.

14

01010-50612

BOLT

SN: 10001-19999

4шт.

15

01643-30623

WASHER

SN: 10001-19999

4шт.

16

01220-40612

SCREW

SN: 10001-19999

2шт.

17

01643-30623

WASHER

SN: 10001-19999

2шт.

18

09415-01008

CAP

SN: 10001-19999

2шт.

19

425-54-12671

COVER

SN: 11070-19999

1шт.

19

0

COVER

SN: 10001-11069

1шт.

|$$21

(425-54-12671,423-54-12830(4),

-1шт.

|$$22

423-54-12840(4))

-1шт.

20

423-54-12830

SCREW

SN: 11070-19999

4шт.

20

424-54-12540

SCREW

SN: .-11069

4шт.

20

01224-30616

SCREW

SN: 10001-.

4шт.

20A

423-54-12840

WASHER

SN: 11070-19999

4шт.

21

425-54-12520

PLATE

SN: 10001-19999

1шт.

22

01010-51020

BOLT

SN: 10001-19999

2шт.

23

01643-31032

WASHER

SN: 10001-19999

2шт.

24

425-54-12510

BRACKET

SN: 10001-19999

1шт.

25

425-54-12530

SHAFT

SN: 10001-19999

1шт.

26

04050-13018

PIN,COTTER

SN: 10001-19999

2шт.

27

425-54-12590

STOPPER

SN: 10001-19999

2шт.

28

01220-30420

SCREW

SN: 10001-19999

2шт.

29

419-54-12424

COVER

SN: 10001-19999

1шт.

30

01010-51240

BOLT

SN: 10001-19999

3шт.

31

01010-51225

BOLT

SN: 10001-19999

3шт.

32

01643-31232

WASHER

SN: 10001-19999

6шт.

33

419-54-12452

PLATE

SN: 10001-19999

1шт.

34

01010-51235

BOLT

SN: 10001-19999

2шт.

35

01643-31232

WASHER

SN: 10001-19999

2шт.

Выбрано товаров: 41