Запчасти Komatsu WA300-1 КЛАПАН УПРАВЛЕНИЯ ТРАНСМИССИЕЙ (/)(№-9999) ГИДРОТРАНСФОРМАТОР И ТРАНСМИССИЯ

Схема запчастей Komatsu WA300-1 - КЛАПАН УПРАВЛЕНИЯ ТРАНСМИССИЕЙ (/)(№-9999) ГИДРОТРАНСФОРМАТОР И ТРАНСМИССИЯ
FIT
1:1
100%

Артикул

Название

Примечание

Количество

|$0

419-15-11020

TRANSMISSION ASS'Y

SN: 10001-19999

1шт.

|$1

419-15-11010

TRANSMISSION ASS'Y,(WITH EMERGENCY STEERING)

SN: 10001-19999

1шт.

|$$3

THESE ASSEMBLIES CONSIST OF ALL PARTS SHOWN IN FIGS.2211 TO 2271.

-1шт.

|$3

418-15-11802

CONTROL VALVE ASS'Y

SN: 11064-19999

1шт.

|$4

0

CONTROL VALVE ASS'Y

SN: 10986-11063

1шт.

|$5

0

CONTROL VALVE ASS'Y

SN: 10605-10985

1шт.

|$6

0

CONTROL VALVE ASS'Y

SN: 10001-10604

1шт.

|$$8

THESE ASSEMBLIES CONSIST OF ALL PARTS SHOWN IN FIGS.2241 TO 2243.

-1шт.

|$8

419-15-16006

VALVE ASS'Y,LOWER

SN: 10986-19999

1шт.

|$9

0

VALVE ASS'Y,LOWER

SN: 10605-10985

1шт.

|$10

0

VALVE ASS'Y,LOWER

SN: 10001-10604

1шт.

|$$12

THESE ASSEMBLIES CONSIST OF ALL PARTS SHOWN IN FIGS.2242 AND 2243.

-1шт.

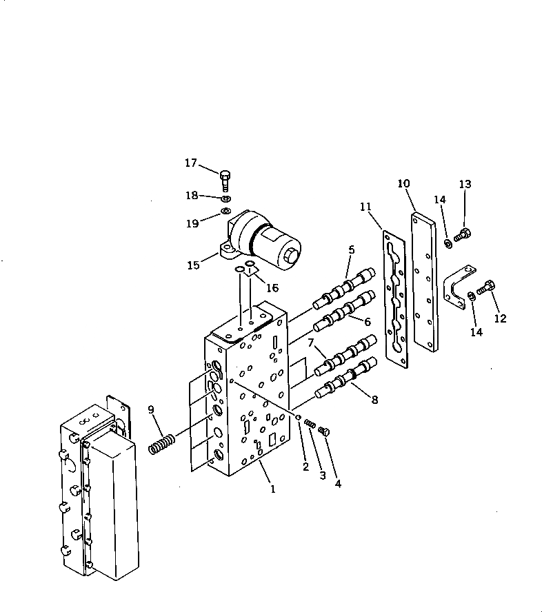
1

419-15-16011

BODY

SN: 10001-19999

1шт.

2

04260-00635

BALL

SN: 10001-19999

1шт.

3

419-15-16180

SPRING

SN: 10001-19999

1шт.

4

419-15-16220

PLUG

SN: 10001-19999

1шт.

5

419-15-16263

VALVE,SELECT

SN: 11064-19999

1шт.

5

0

VALVE,SELECT

SN: 10001-11063

1шт.

6

419-15-16263

VALVE,SELECT

SN: 11064-19999

1шт.

6

0

VALVE,SELECT

SN: 10695-11063

1шт.

6

0

VALVE,SELECT

SN: 10001-10694

1шт.

7

419-15-16192

VALVE,SELECT

SN: 11064-19999

2шт.

7

0

VALVE,SELECT

SN: 10001-11063

2шт.

8

419-15-16272

VALVE,SELECT

SN: 11064-19999

1шт.

8

0

VALVE,SELECT

SN: 10001-11063

1шт.

9

419-15-16170

SPRING

SN: 10001-19999

5шт.

10

419-15-16123

COVER

SN: 10215-19999

1шт.

10

0

COVER

SN: 10001-10214

1шт.

|$$29

(419-15-16123,01010-30830(6),

-1шт.

|$$30

01010-30835(2))

-1шт.

11

419-15-16134

GASKET (KIT)

SN: 10215-19999

1шт.

11

0

GASKET (KIT)

SN: 10001-10214

1шт.

12

01010-30830

BOLT

SN: 10215-19999

6шт.

12

01010-30825

BOLT

SN: 10001-10214

6шт.

13

01010-30835

BOLT

SN: 10215-19999

2шт.

13

01010-30830

BOLT

SN: 10001-10214

2шт.

14

01602-00825

WASHER,SPRING

SN: 10001-19999

8шт.

15

426-15-16510

FILTER ASS'Y

SN: 10001-19999

1шт.

15

209-38-12470

ELEMENT

SN: 10001-19999

1шт.

15

209-38-12480

O-RING

SN: 10001-19999

1шт.

15

209-38-12490

RING,BACK-UP

SN: 10001-19999

1шт.

16

07000-02014

O-RING (KIT)

SN: 10001-@

2шт.

17

01010-31035

BOLT

SN: 10001-@

2шт.

18

01602-01030

WASHER,SPRING

SN: 10001-@

2шт.

19

01642-21016

WASHER

SN: 10001-@

2шт.

Выбрано товаров: 45