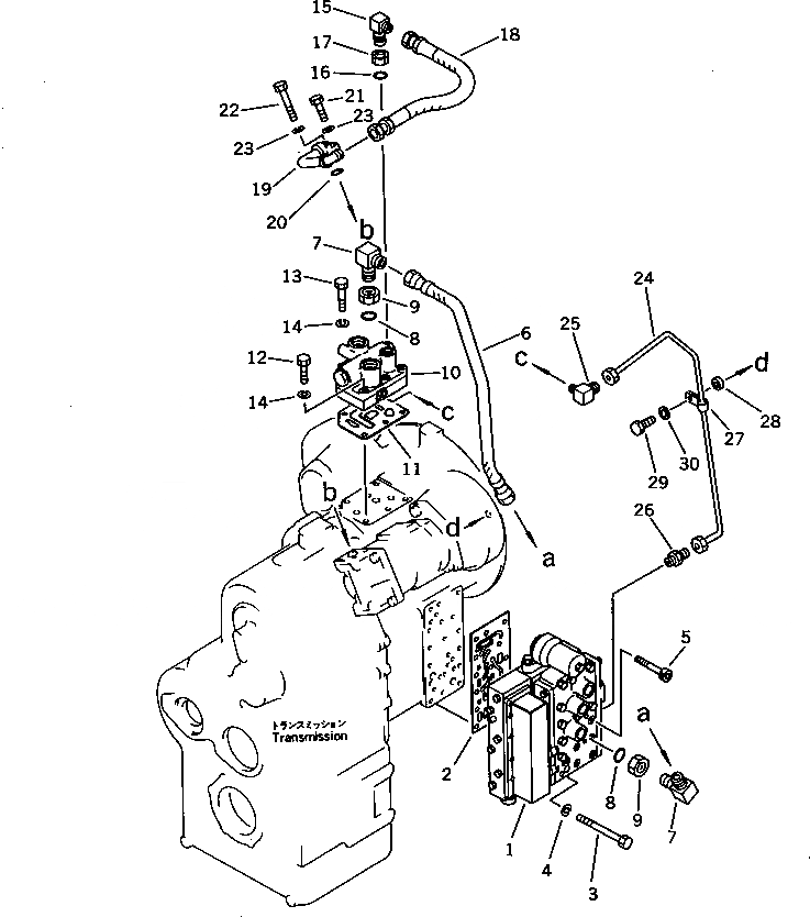
Запчасти Komatsu WA300-1 ГИДРОЛИНИЯ ТРАНСМИССИИ (/)(№-9999) ГИДРОТРАНСФОРМАТОР И ТРАНСМИССИЯ

Схема запчастей Komatsu WA300-1 - ГИДРОЛИНИЯ ТРАНСМИССИИ (/)(№-9999) ГИДРОТРАНСФОРМАТОР И ТРАНСМИССИЯ
FIT
1:1
100%

Артикул

Название

Примечание

Количество

|$0

419-15-11020

TRANSMISSION ASS'Y

SN: 10001-19999

1шт.

|$1

419-15-11010

TRANSMISSION ASS'Y,(WITH EMERGENCY STEERING)

SN: 10001-19999

1шт.

|$$3

THESE ASSEMBLIES CONSIST OF ALL PARTS SHOWN IN FIGS.2211 TO 2271.

-1шт.

1

418-15-11802

CONTROL VALVE ASS'Y

SN: 11064-19999

1шт.

1

0

CONTROL VALVE ASS'Y

SN: 10986-11063

1шт.

1

0

CONTROL VALVE ASS'Y

SN: 10605-10985

1шт.

1

0

CONTROL VALVE ASS'Y

SN: 10001-10604

1шт.

2

419-15-16151

GASKET (KIT)

SN: 10001-19999

1шт.

3

01011-31025

BOLT

SN: 10001-19999

11шт.

4

01602-01030

WASHER,SPRING

SN: 10001-19999

11шт.

5

419-15-15170

BOLT

SN: 10001-19999

6шт.

6

419-15-14591

TUBE

SN: 10001-19999

1шт.

7

419-15-14680

ELBOW

SN: 11217-19999

2шт.

7

419-15-14640

ELBOW

SN: 10001-11216

2шт.

8

07002-03334

O-RING

SN: 10001-19999

2шт.

9

419-15-14690

NUT

SN: 11217-19999

2шт.

9

113-60-23120

NUT

SN: 10001-11216

2шт.

10

419-15-17002

REGULATOR VALVE A.

SN: 10001-19999

1шт.

11

419-15-17141

GASKET (KIT)

SN: 10001-19999

1шт.

12

01010-31070

BOLT

SN: 10001-19999

4шт.

13

01010-51080

BOLT

SN: 10001-19999

1шт.

14

01602-21030

WASHER,SPRING

SN: 10001-19999

5шт.

15

07232-20522

ELBOW

SN: 10001-19999

1шт.

16

07002-02434

O-RING (KIT)

SN: 10001-@

1шт.

17

07239-12410

NUT

SN: 10001-19999

1шт.

18

419-15-14760

HOSE

SN: 10001-@

1шт.

19

419-15-14770

ELBOW

SN: 10001-@

1шт.

20

07000-03030

O-RING (KIT)

SN: 10001-@

1шт.

21

01010-30840

BOLT

SN: 10001-@

2шт.

22

01010-30855

BOLT

SN: 10001-@

2шт.

23

01602-00825

WASHER,SPRING

SN: 10001-@

4шт.

24

419-15-17521

TUBE

SN: 10380-19999

1шт.

24

0

TUBE

SN: 10001-10379

1шт.

25

419-15-17510

ELBOW

SN: 10001-19999

1шт.

26

419-15-17530

CONNECTOR

SN: 10001-19999

1шт.

27

419-09-11160

CLIP

SN: 10287-19999

1шт.

27

0

CLIP

SN: 10001-10286

1шт.

28

419-15-17541

SPACER

SN: 10287-19999

1шт.

28

0

SPACER

SN: 10001-10286

1шт.

29

01010-31040

BOLT

SN: 10001-19999

1шт.

30

01643-31032

WASHER

SN: 10001-19999

1шт.

Выбрано товаров: 41