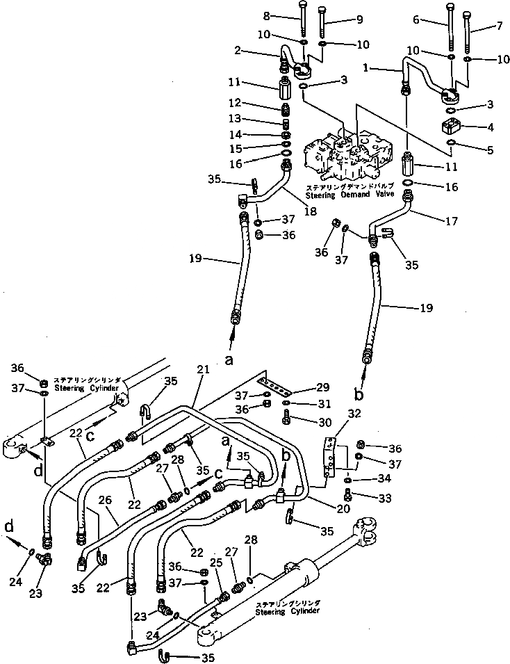
Запчасти Komatsu WA300-1 РУЛЕВ. УПРАВЛЕНИЕ МАСЛОПРОВОДЯЩАЯ ЛИНИЯ(№-9999) РУЛЕВ. УПРАВЛЕНИЕ И СИСТЕМА УПРАВЛЕНИЯ

Схема запчастей Komatsu WA300-1 - РУЛЕВ. УПРАВЛЕНИЕ МАСЛОПРОВОДЯЩАЯ ЛИНИЯ(№-9999) РУЛЕВ. УПРАВЛЕНИЕ И СИСТЕМА УПРАВЛЕНИЯ
FIT
1:1
100%

Артикул

Название

Примечание

Количество

1

419-62-11221

TUBE

SN: 11115-19999

1шт.

|1

419-62-11220

TUBE

SN: 10001-11114

1шт.

2

419-62-11241

TUBE

SN: 11115-@

1шт.

|2

419-62-11240

TUBE

SN: 10001-11114

1шт.

3

07000-13030

O-RING

SN: 10001-@

2шт.

4

419-62-13540

FLANGE

SN: 10001-@

1шт.

5

07000-13025

O-RING

SN: 10001-@

1шт.

6

6138-11-4870

BOLT

SN: 11115-@

2шт.

|6

419-62-11290

BOLT

SN: 10001-11114

2шт.

7

6132-11-4690

BOLT

SN: 11115-@

2шт.

|7

419-62-11310

BOLT

SN: 10001-11114

2шт.

8

419-09-11330

BOLT

SN: 11115-@

2шт.

|8

419-62-11320

BOLT

SN: 10001-11114

2шт.

9

21T-72-17890

BOLT

SN: 11115-@

2шт.

|9

01010-50870

BOLT

SN: 10001-11114

2шт.

10

01643-50823

WASHER

SN: 10001-19999

8шт.

|11

419-62-11261

2-WAY RESTRICTOR A.

SN: 10001-19999

2шт.

11

0

BODY

SN: 10001-19999

1шт.

12

419-62-11330

BOLT

SN: 10001-19999

1шт.

13

424-62-11350

SPRING

SN: 10001-19999

1шт.

14

424-62-11360

WASHER

SN: 10001-19999

1шт.

15

04065-02412

RING,SNAP

SN: 10001-19999

1шт.

16

07002-13034

O-RING

SN: 10001-@

2шт.

17

419-62-11230

TUBE

SN: 10001-19999

1шт.

18

419-62-11250

TUBE

SN: 10001-19999

1шт.

19

07086-20507

HOSE

SN: 10380-19999

2шт.

|19

0

HOSE

SN: 10001-10379

2шт.

20

419-62-11130

TUBE

SN: 10001-19999

1шт.

21

419-62-11140

TUBE

SN: 10001-19999

1шт.

22

07086-00407

HOSE

SN: 10001-@

4шт.

23

07235-10422

ELBOW

SN: 10001-@

2шт.

24

07002-12034

O-RING

SN: 10001-@

2шт.

25

419-62-11170

TUBE

SN: 10001-19999

1шт.

26

419-62-11180

TUBE

SN: 10001-19999

1шт.

27

07230-10422

UNION

SN: 10001-@

2шт.

28

07002-12034

O-RING

SN: 10001-@

2шт.

29

419-62-11160

PLATE

SN: 10001-@

1шт.

30

01010-51025

BOLT

SN: 10001-@

2шт.

31

01643-31032

WASHER

SN: 10001-@

2шт.

32

419-62-11150

PLATE

SN: 10001-@

1шт.

33

01010-51020

BOLT

SN: 10001-@

2шт.

34

01643-31032

WASHER

SN: 10001-@

2шт.

35

07283-22236

CLIP

SN: 10001-19999

8шт.

36

01599-01011

NUT

SN: 10001-19999

16шт.

37

01643-31032

WASHER

SN: 10001-19999

16шт.

Выбрано товаров: 0