Запчасти Komatsu WA300-1 ТОПЛ. БАК И ТОПЛИВОПРОВОД(№-9999) КОМПОНЕНТЫ ДВИГАТЕЛЯ И ЭЛЕКТРИКА

Схема запчастей Komatsu WA300-1 - ТОПЛ. БАК И ТОПЛИВОПРОВОД(№-9999) КОМПОНЕНТЫ ДВИГАТЕЛЯ И ЭЛЕКТРИКА
FIT
1:1
100%

Артикул

Название

Примечание

Количество

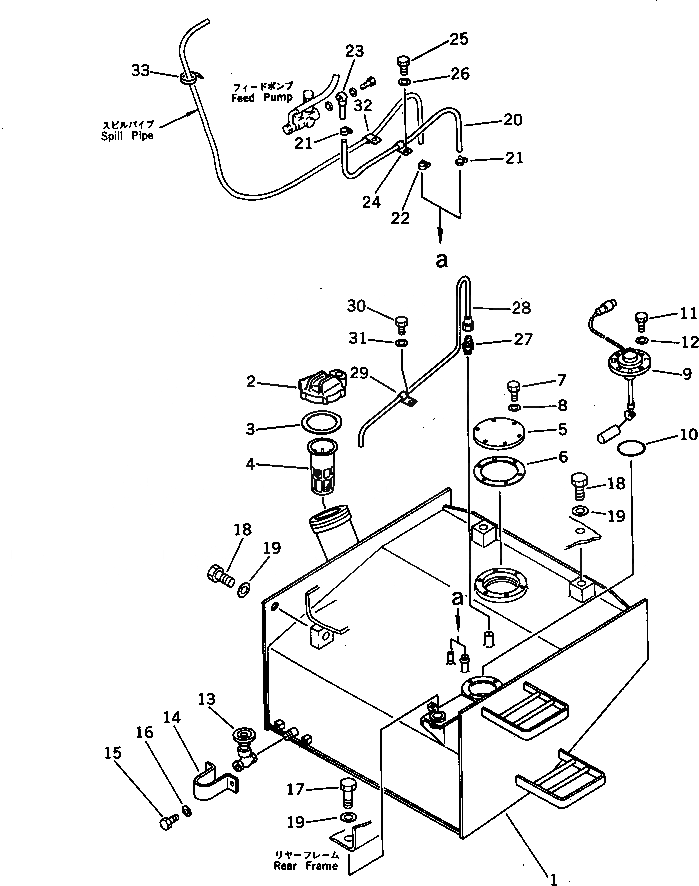
1

419-04-10114

TANK,FUEL

SN: 20001-29999

1шт.

|1

419-04-10113

TANK,FUEL

SN: 11324-19999

1шт.

|1

0

TANK,FUEL

SN: 11229-11323

1шт.

|1

0

TANK,FUEL

SN: 10359-11228

1шт.

|1

0

TANK,FUEL

SN: 10001-10358

1шт.

2

19M-04-11220

CAP

SN: 10001-29999

1шт.

3

07050-21202

GASKET

SN: 10001-29999

1шт.

4

07056-18416

STRAINER

SN: 10001-29999

1шт.

5

421-04-11181

COVER

SN: 10001-29999

1шт.

6

421-04-11191

GASKET

SN: 10001-29999

1шт.

7

01010-51025

BOLT

SN: 10001-29999

6шт.

8

01643-31032

WASHER

SN: 10001-29999

6шт.

9

7861-91-4720

SENSOR,FUEL LEVEL

SN: 10551-29999

1шт.

|9

0

SENSOR,FUEL LEVEL

SN: 10001-10550

1шт.

10

07000-02085

O-RING

SN: 10001-29999

1шт.

11

01010-51016

BOLT

SN: 10551-29999

4шт.

|11

01010-51025

BOLT

SN: 10001-10550

4шт.

12

01643-31032

WASHER

SN: 10001-29999

4шт.

13

416-04-10130

VALVE

SN: 20001-29999

1шт.

|13

07700-60504

VALVE

SN: 10001-19999

1шт.

14

419-04-11120

COVER

SN: 20001-29999

1шт.

|14

421-04-11170

COVER

SN: 10001-19999

1шт.

15

01010-50820

BOLT

SN: 10001-29999

2шт.

16

01643-30823

WASHER

SN: 10001-29999

2шт.

17

01010-32455

BOLT

SN: 20001-29999

1шт.

|17

01010-32460

BOLT

SN: 10001-19999

1шт.

18

01010-32450

BOLT

SN: 10001-29999

3шт.

19

01643-32460

WASHER

SN: 10001-22999

4шт.

20

07270-21080

TUBE

SN: 10001-29999

1шт.

21

07281-00197

CLAMP

SN: 10001-29999

2шт.

22

07280-00910

CLAMP

SN: 10169-29999

1шт.

|22

0

CLAMP

SN: 10001-10168

1шт.

23

419-04-10130

JOINT

SN: 10001-29999

1шт.

24

08036-01414

CLIP

SN: 10001-29999

1шт.

25

01010-51020

BOLT

SN: 10001-29999

1шт.

26

01643-31032

WASHER

SN: 10001-29999

1шт.

27

07214-51013

CONNECTOR

SN: 10001-29999

1шт.

28

419-04-10121

TUBE

SN: .-29999

1шт.

|28

0

TUBE

SN: 10001-.

1шт.

29

424-04-11120

CLIP

SN: 10001-29999

1шт.

30

01010-51016

BOLT

SN: 10001-29999

1шт.

31

01643-31032

WASHER

SN: 10001-29999

1шт.

32

424-06-12720

CLIP

SN: 10001-29999

1шт.

33

08034-00310

BAND

SN: 10001-29999

4шт.

Выбрано товаров: 0