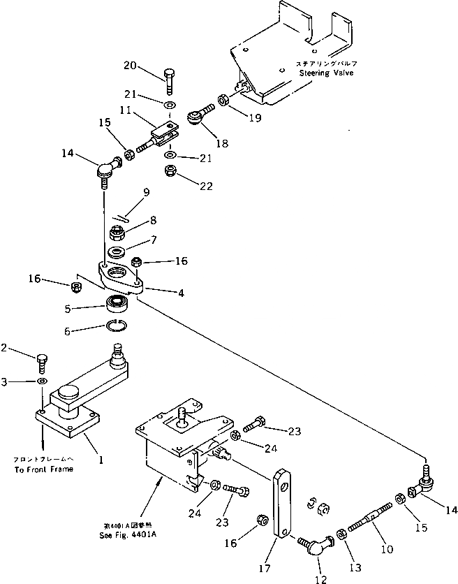
Запчасти Komatsu WA300-1 РУЛЕВ. УПРАВЛЕНИЕ МЕХАНИЗМ(№-) РУЛЕВ. УПРАВЛЕНИЕ И СИСТЕМА УПРАВЛЕНИЯ

Схема запчастей Komatsu WA300-1 - РУЛЕВ. УПРАВЛЕНИЕ МЕХАНИЗМ(№-) РУЛЕВ. УПРАВЛЕНИЕ И СИСТЕМА УПРАВЛЕНИЯ
FIT
1:1
100%

Артикул

Название

Примечание

Количество

1

419-40-11440

BRACKET

SN: 30001-UP

1шт.

2

01010-51445

BOLT

SN: 30001-UP

3шт.

3

01643-31445

WASHER

SN: 30001-UP

3шт.

4

419-40-11430

PLATE

SN: 30001-UP

1шт.

5

421-40-11411

BEARING

SN: 10001-UP

1шт.

6

04065-06220

RING,SNAP

SN: 10001-UP

1шт.

7

01643-32460

WASHER

SN: 30001-UP

1шт.

8

01590-32427

NUT

SN: 30001-UP

1шт.

9

04050-15045

PIN,COTTER

SN: 30001-UP

1шт.

10

419-40-11121

ROD

SN: 10001-UP

1шт.

11

419-40-11450

ROD

SN: 30001-UP

1шт.

12

421-40-11381

JOINT

SN: 30001-UP

1шт.

13

01580-11613

NUT

SN: 30001-UP

1шт.

14

421-40-11371

JOINT

SN: 10001-UP

2шт.

15

421-40-11390

NUT,L.H. THREAD

SN: 10001-UP

2шт.

16

421-40-11510

NUT,LOCK

SN: 30001-UP

3шт.

17

424-40-11281

PLATE,PITMAN

SN: 30001-UP

1шт.

18

423-40-11230

JOINT

SN: 30001-UP

1шт.

19

01583-12012

NUT

SN: 30001-UP

1шт.

20

01090-52070

BOLT

SN: 30001-UP

1шт.

21

01643-32060

WASHER

SN: 30001-UP

2шт.

22

423-40-11250

NUT,LOCK

SN: 30001-UP

1шт.

23

01016-51270

BOLT

SN: 30001-UP

2шт.

24

01580-11210

NUT

SN: 30001-UP

2шт.

Выбрано товаров: 24