Запчасти Komatsu WA300-1 ТОПЛ. БАК И ТОПЛИВОПРОВОД(№-) КОМПОНЕНТЫ ДВИГАТЕЛЯ И ЭЛЕКТРИКА

Схема запчастей Komatsu WA300-1 - ТОПЛ. БАК И ТОПЛИВОПРОВОД(№-) КОМПОНЕНТЫ ДВИГАТЕЛЯ И ЭЛЕКТРИКА
FIT
1:1
100%

Артикул

Название

Примечание

Количество

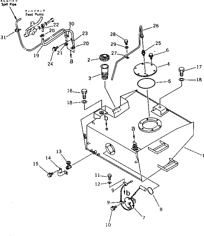
1

419-04-10117

TANK,FUEL

SN: 30220-UP

1шт.

|1

0

TANK,FUEL

SN: 30001-30219

1шт.

2

423-04-11361

CAP

SN: 30001-UP

1шт.

|2

0

CAP

SN: (30001-30077)

1шт.

|2

423-04-11770

PACKING¤ 1.0MM

SN: 30001-UP

1шт.

|2

20Y-04-11240

PACKING,3.0MM

SN: 30001-UP

1шт.

3

07056-18416

STRAINER

SN: 10001-UP

1шт.

4

421-04-11182

COVER

SN: 30001-UP

1шт.

5

07000-05200

O-RING

SN: 30001-UP

1шт.

6

01435-01020

BOLT

SN: 30001-UP

6шт.

7

7861-91-4810

SENSOR,FUEL LEVEL

SN: 30001-UP

1шт.

8

07000-02085

O-RING

SN: 10001-UP

1шт.

9

08036-00814

CLIP

SN: 30001-UP

2шт.

10

01435-01016

BOLT

SN: 30001-UP

4шт.

11

01010-51016

BOLT

SN: 30001-UP

1шт.

12

01643-31032

WASHER

SN: 30001-UP

1шт.

13

416-04-10130

VALVE

SN: 20001-UP

1шт.

14

419-04-11120

COVER

SN: 20001-UP

1шт.

15

01435-00816

BOLT

SN: 30001-UP

2шт.

16

01010-32460

BOLT

SN: 30001-UP

2шт.

17

01010-32450

BOLT

SN: 30001-UP

1шт.

18

01643-32460

WASHER

SN: 30001-UP

3шт.

19

07270-21060

TUBE

SN: 10001-UP

1шт.

20

07281-00197

CLAMP

SN: 10001-UP

2шт.

21

07280-00910

CLAMP

SN: 10001-UP

1шт.

22

419-04-10130

JOINT

SN: 10001-UP

1шт.

23

08036-01414

CLIP

SN: 10001-UP

1шт.

24

01435-01020

BOLT

SN: 30001-UP

1шт.

25

07214-51013

CONNECTOR

SN: 10001-UP

1шт.

26

419-04-10123

TUBE

SN: 30001-UP

1шт.

27

424-04-11120

CLIP

SN: 10001-UP

1шт.

28

01010-51016

BOLT

SN: 10001-UP

1шт.

29

01643-31032

WASHER

SN: 10001-UP

1шт.

30

424-06-12720

CLIP

SN: 10001-UP

1шт.

31

08034-00310

BAND

SN: 10001-UP

4шт.

Выбрано товаров: 35