Запчасти Komatsu WA300-1 ЗАЩИТА РАДИАТОРА AND КАПОТ (/)(№-9999) РАМА И ЧАСТИ КОРПУСА

Схема запчастей Komatsu WA300-1 - ЗАЩИТА РАДИАТОРА AND КАПОТ (/)(№-9999) РАМА И ЧАСТИ КОРПУСА
FIT
1:1
100%

Артикул

Название

Примечание

Количество

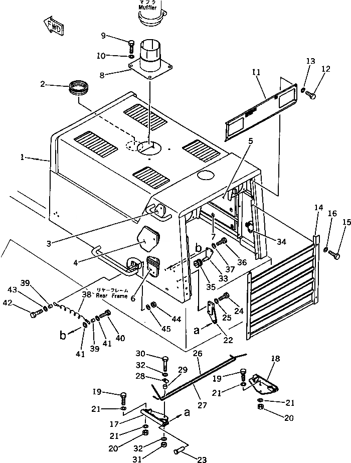
1

419-54-11112

HOOD

SN: 10215-19999

1шт.

|1

0

HOOD

SN: 10001-10214

1шт.

2

419-54-11480

BOOT

SN: 10001-@

1шт.

3

419-54-11720

SHEET,L.H.

SN: 10001-19999

1шт.

|3

419-54-11161

SHEET,R.H.

SN: 10001-19999

1шт.

4

419-54-11182

SHEET,L.H.

SN: 10402-19999

1шт.

|4

0

SHEET,L.H.

SN: 10001-10401

1шт.

5

419-54-11491

SHEET,R.H.

SN: 10001-19999

1шт.

6

419-54-11171

SHEET

SN: 10001-19999

2шт.

7

419-54-11450

NUT,RETAINER

SN: 10001-19999

88шт.

8

419-02-11110

BRACKET

SN: 10001-19999

1шт.

9

01010-51225

BOLT

SN: 10001-@

4шт.

10

01643-31232

WASHER

SN: 10001-@

4шт.

11

419-54-11141

PLATE

SN: 10001-@

1шт.

12

01010-50825

BOLT

SN: 10001-@

4шт.

13

01643-30823

WASHER

SN: 10001-@

4шт.

14

419-54-11131

GRILLE

SN: 10001-19999

1шт.

15

01010-51225

BOLT

SN: 10001-@

4шт.

16

01643-31232

WASHER

SN: 10001-@

4шт.

17

419-54-11221

HINGE,L.H.

SN: 10001-@

1шт.

18

419-54-11211

HINGE,R.H.

SN: 10001-@

1шт.

19

01010-31245

BOLT

SN: 10001-@

4шт.

20

01580-01210

NUT

SN: 10001-@

4шт.

21

01643-31232

WASHER

SN: 10001-@

8шт.

22

424-54-11281

SUPPORT

SN: 10001-@

2шт.

23

04205-12060

PIN

SN: 10001-@

2шт.

24

01010-31225

BOLT

SN: 10001-19999

4шт.

25

01643-31232

WASHER

SN: 10001-@

4шт.

26

419-54-11260

SPRING,L.H.

SN: 10001-@

1шт.

27

419-54-11250

SPRING,R.H.

SN: 10001-@

1шт.

28

424-54-11341

CLAMP

SN: 10001-@

2шт.

29

419-54-11270

SPACER

SN: 10001-@

2шт.

30

01010-31255

BOLT

SN: 10001-19999

2шт.

31

01580-01210

NUT

SN: 10001-19999

2шт.

32

01643-31232

WASHER

SN: 10001-@

4шт.

33

419-54-11290

SUPPORT,L.H.

SN: 10001-@

1шт.

34

419-54-11280

SUPPORT,R.H.

SN: 10001-@

1шт.

35

424-54-11380

ROLLER

SN: 10001-@

2шт.

36

01010-31230

BOLT

SN: 10001-@

4шт.

37

01643-31232

WASHER

SN: 10001-@

4шт.

38

419-54-11670

CABLE

SN: 10001-@

2шт.

39

424-54-14230

SPACER

SN: 10001-@

4шт.

40

01010-51230

BOLT

SN: 10001-@

2шт.

41

424-54-14220

WASHER

SN: 10001-@

4шт.

42

01010-51245

BOLT

SN: 10025-@

2шт.

|42

0

BOLT

SN: 10001-10024

2шт.

43

424-54-14220

WASHER

SN: 10001-@

4шт.

44

01580-01210

NUT

SN: 10001-@

2шт.

45

01643-31232

WASHER

SN: 10001-@

2шт.

Выбрано товаров: 49