Запчасти Komatsu WA300-1 RADEATOR ЧАСТИ КОРПУСА И КАПОТ (/)(№-) РАМА И ЧАСТИ КОРПУСА

Схема запчастей Komatsu WA300-1 - RADEATOR ЧАСТИ КОРПУСА И КАПОТ (/)(№-) РАМА И ЧАСТИ КОРПУСА
FIT
1:1
100%

Артикул

Название

Примечание

Количество

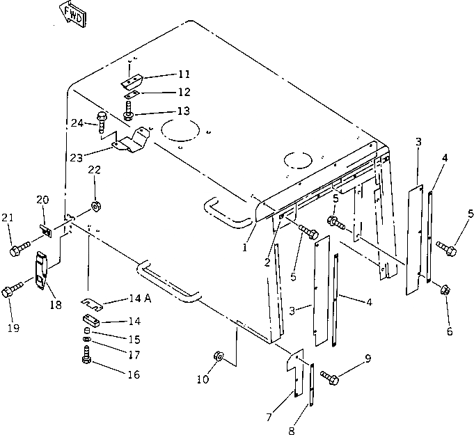
1

419-54-11360

SHEET

SN: 10001-UP

1шт.

2

419-54-11370

PLATE

SN: 10001-UP

1шт.

3

419-54-11190

SHEET

SN: 10001-UP

2шт.

4

419-54-11390

PLATE

SN: 10001-UP

2шт.

5

01435-00820

BOLT

SN: 30001-UP

10шт.

6

01584-00806

NUT

SN: 30001-UP

2шт.

7

419-54-11620

SHEET

SN: 10001-UP

2шт.

8

419-54-11610

SHEET

SN: 10001-UP

4шт.

9

01435-00820

BOLT

SN: 30001-UP

6шт.

10

01584-00806

NUT

SN: 30001-UP

2шт.

11

424-54-11560

BLOCK

SN: 10001-UP

1шт.

12

424-54-11570

PLATE

SN: 10001-UP

1шт.

13

01435-01020

BOLT

SN: 30001-UP

2шт.

14

419-54-11690

SEAT

SN: 20001-UP

2шт.

14A

423-54-11820

SHIM¤ 1.2MM

SN: 10001-UP

2шт.

15

424-54-14380

COLLAR

SN: 10001-UP

4шт.

16

01010-50830

BOLT

SN: 10001-UP

4шт.

17

154-61-16570

WASHER

SN: 10001-UP

4шт.

18

423-54-11951

CATCH ASS'Y

SN: 30001-UP

2шт.

19

01435-00812

BOLT

SN: 30001-UP

4шт.

20

423-54-11962

HOOK

SN: 30001-UP

2шт.

21

01435-00825

BOLT

SN: 30001-UP

4шт.

22

01584-00806

NUT

SN: 30001-UP

4шт.

23

419-54-11430

SUPPORT

SN: 10001-UP

1шт.

24

01435-01225

BOLT

SN: 30001-UP

2шт.

Выбрано товаров: 25