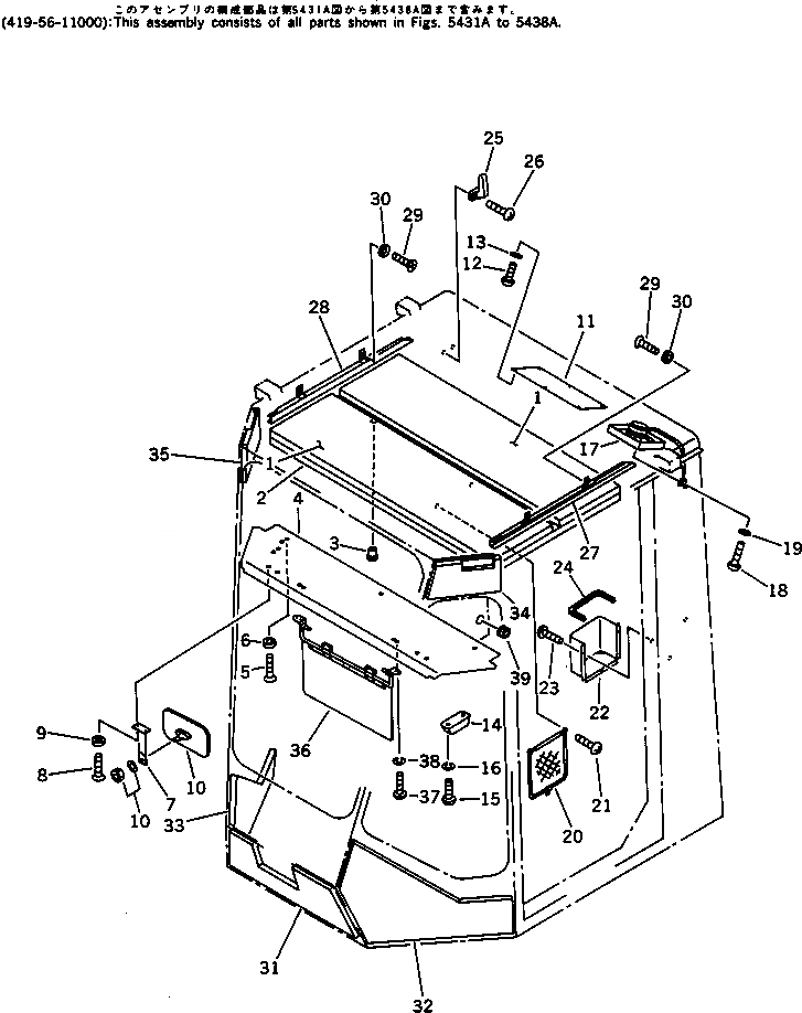
Запчасти Komatsu WA300-1 КАБИНА (ИНТЕРЬЕР TRM) (/8)(№-) РАМА И ЧАСТИ КОРПУСА

Схема запчастей Komatsu WA300-1 - КАБИНА (ИНТЕРЬЕР TRM) (/8)(№-) РАМА И ЧАСТИ КОРПУСА
FIT
1:1
100%

Артикул

Название

Примечание

Количество

|1

419-56-11000

OPERATOR'S CAB ASS'Y

SN: 30001-UP

1шт.

|1

419-56-11011

OPERATOR'S CAB ASS'Y,(YELLOW-E2)

SN: 30001-UP

1шт.

1

421-56-11850

INSULATOR

SN: 30001-UP

2шт.

2

421-56-11242

PAD

SN: 30001-UP

1шт.

3

09416-10000

BUTTON

SN: 30001-UP

3шт.

4

421-56-11251

COVER

SN: 30001-UP

1шт.

5

01225-40516

SCREW

SN: 10001-UP

4шт.

6

421-54-15790

WASHER

SN: 10001-UP

4шт.

7

419-56-11271

STAY

SN: 20001-UP

1шт.

8

01225-40516

SCREW

SN: 20001-UP

2шт.

9

421-54-15790

WASHER

SN: 20001-UP

2шт.

10

419-56-11260

MIRROR,ROOM

SN: 20001-UP

1шт.

11

419-923-1310

PLATE

SN: 30001-UP

1шт.

12

01220-40512

SCREW

SN: 30001-UP

6шт.

13

01601-20513

WASHER,SPRING

SN: 30001-UP

6шт.

14

08141-12400

LAMP,ROOM

SN: 30001-UP

1шт.

|14

08116-02410

BULB¤ 10W

SN: 10001-UP

1шт.

15

01220-40416

SCREW

SN: 30001-UP

2шт.

16

01601-20410

WASHER

SN: 10001-UP

2шт.

17

205-06-62320

SPEAKER

SN: 10001-UP

1шт.

18

01220-40520

SCREW

SN: 10001-UP

4шт.

19

01601-20513

WASHER,SPRING

SN: 10001-UP

4шт.

20

419-54-15522

POCKET

SN: 10001-UP

1шт.

21

01220-40416

SCREW

SN: 30001-UP

3шт.

22

421-56-11342

BOX

SN: 30001-UP

1шт.

23

01220-40416

SCREW

SN: 30001-UP

3шт.

24

421-56-11820

FINISHER

SN: 30001-UP

1шт.

25

205-54-51250

HANGER

SN: 30001-UP

1шт.

26

01224-40416

SCREW

SN: 30001-UP

2шт.

27

421-56-11380

COVER,L.H.

SN: 30001-UP

1шт.

28

421-56-11390

COVER,R.H.

SN: 30001-UP

1шт.

29

01225-40516

SCREW

SN: 30001-UP

4шт.

30

421-54-15790

WASHER

SN: 30001-UP

4шт.

31

421-56-11310

PAD,CENTER

SN: 30001-UP

1шт.

32

421-56-11320

PAD,L.H.

SN: 30001-UP

1шт.

33

421-56-11330

PAD,R.H.

SN: 30001-UP

1шт.

34

421-56-11451

PAD,L.H.

SN: 30001-UP

1шт.

35

421-56-11461

PAD,R.H.

SN: 30001-UP

1шт.

36

419-56-11251

SUN VISOR

SN: 20001-UP

1шт.

37

01220-40516

SCREW

SN: 20001-UP

4шт.

38

01641-20508

WASHER

SN: 20001-UP

4шт.

39

08037-01610

GROMMET

SN: 30001-UP

1шт.

Выбрано товаров: 42