Запчасти Komatsu WA300-1 КАБИНА ROPS (ЗАДН.) (/8) РАМА И ЧАСТИ КОРПУСА

Схема запчастей Komatsu WA300-1 - КАБИНА ROPS (ЗАДН.) (/8) РАМА И ЧАСТИ КОРПУСА
FIT
1:1
100%

Артикул

Название

Примечание

Количество

|1

419-926-1002

ROPS CAB ASS'Y

SN: 20001-UP

1шт.

|1

0

ROPS CAB ASS'Y

SN: 10001-19999

1шт.

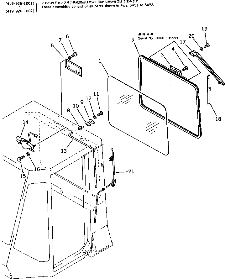
1

419-54-15511

GLASS

SN: 10001-UP

1шт.

2

425-54-15361

STRIP,WEATHER

SN: 10001-UP

1шт.

3

425-54-15780

PLATE

SN: 10001-19999

2шт.

4

01370-00406

SCREW

SN: 10001-19999

6шт.

5

419-926-1210

COVER

SN: 10001-UP

1шт.

|5

419-926-1230

SEAL

SN: 10001-UP

2шт.

|5

419-926-1240

SEAL

SN: 10001-UP

2шт.

6

01010-50616

BOLT

SN: 10001-UP

6шт.

7

01643-30623

WASHER

SN: 10001-UP

6шт.

8

421-54-15430

NOZZLE,WASHER

SN: 10001-UP

1шт.

9

421-54-15421

PLATE

SN: 10001-UP

1шт.

10

425-54-15790

PLATE

SN: 10001-UP

1шт.

11

01220-40516

SCREW

SN: 10001-UP

2шт.

12

01601-20513

WASHER,SPRING

SN: 10001-UP

2шт.

13

421-54-15440

HOSE

SN: 10001-UP

1шт.

14

417-54-15141

MOTOR,WIPER

SN: .-UP

1шт.

|14

0

MOTOR,WIPER

SN: 10001-.

1шт.

|14

419-54-15960

WIRE ASS'Y

SN: .-UP

1шт.

15

01010-50816

BOLT

SN: 10001-UP

2шт.

16

01643-30823

WASHER

SN: 10001-UP

2шт.

17

417-54-15151

ARM,WIPER

SN: .-UP

1шт.

|17

0

ARM,WIPER

SN: 10001-.

1шт.

18

425-54-15330

BLADE,WIPER

SN: 10001-UP

1шт.

19

01220-40516

SCREW

SN: 10001-UP

1шт.

20

01641-20508

WASHER

SN: 10001-UP

1шт.

21

201-06-21420

ANTENNA

SN: 10001-UP

1шт.

Выбрано товаров: 28