Запчасти Komatsu WA300-1 ПЕРЕДН.ДВОРНИКИ(№-) РАМА И ЧАСТИ КОРПУСА

Схема запчастей Komatsu WA300-1 - ПЕРЕДН. ДВОРНИКИ(№-) РАМА И ЧАСТИ КОРПУСА
FIT
1:1
100%

Артикул

Название

Примечание

Количество

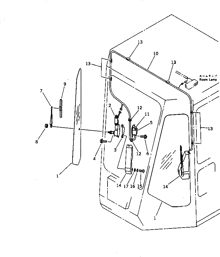
1

424-U53-1630

GLASS

SN: 30001-UP

2шт.

2

424-U53-1510

MOTOR,WIPER¤ L.H.

SN: 30001-UP

1шт.

|2

424-U53-1520

MOTOR,WIPER¤ R.H.

SN: 30001-UP

1шт.

3

424-U53-1610

BRACKET,L.H.

SN: 30001-UP

1шт.

|3

424-U53-1620

BRACKET,R.H.

SN: 30001-UP

1шт.

4

01435-00812

BOLT

SN: 30001-UP

6шт.

5

424-U53-1570

SUPPORT,L.H.

SN: 30001-UP

1шт.

|5

424-U53-1580

SUPPORT,R.H.

SN: 30001-UP

1шт.

6

01435-00816

BOLT

SN: 30001-UP

8шт.

7

424-U53-1530

ARM,WIPER

SN: 30001-UP

2шт.

8

01580-10605

NUT

SN: 30001-UP

2шт.

9

424-U53-1540

BLADE,WIPER

SN: 30001-UP

2шт.

10

424-U53-1560

WIRE ASS'Y

SN: 30001-UP

1шт.

11

424-U53-1550

SWITCH,WIPER

SN: 30001-UP

1шт.

12

08037-01008

GROMMET

SN: 30001-UP

3шт.

13

421-54-15520

CLIP

SN: 30001-UP

6шт.

14

424-U53-1640

COVER,L.H.

SN: 30001-UP

1шт.

|14

424-U53-1650

COVER,R.H.

SN: 30001-UP

1шт.

15

01220-40512

SCREW

SN: 30001-UP

4шт.

16

01601-20513

WASHER,SPRING

SN: 30001-UP

4шт.

17

01642-20508

WASHER

SN: 30001-UP

4шт.

Выбрано товаров: 0