Запчасти Komatsu WA300-1 КОНДИЦ. ВОЗДУХА (NIPPON DENSO) (/)(№-9999) РАМА И ЧАСТИ КОРПУСА

Схема запчастей Komatsu WA300-1 - КОНДИЦ. ВОЗДУХА (NIPPON DENSO) (/)(№-9999) РАМА И ЧАСТИ КОРПУСА
FIT
1:1
100%

Артикул

Название

Примечание

Количество

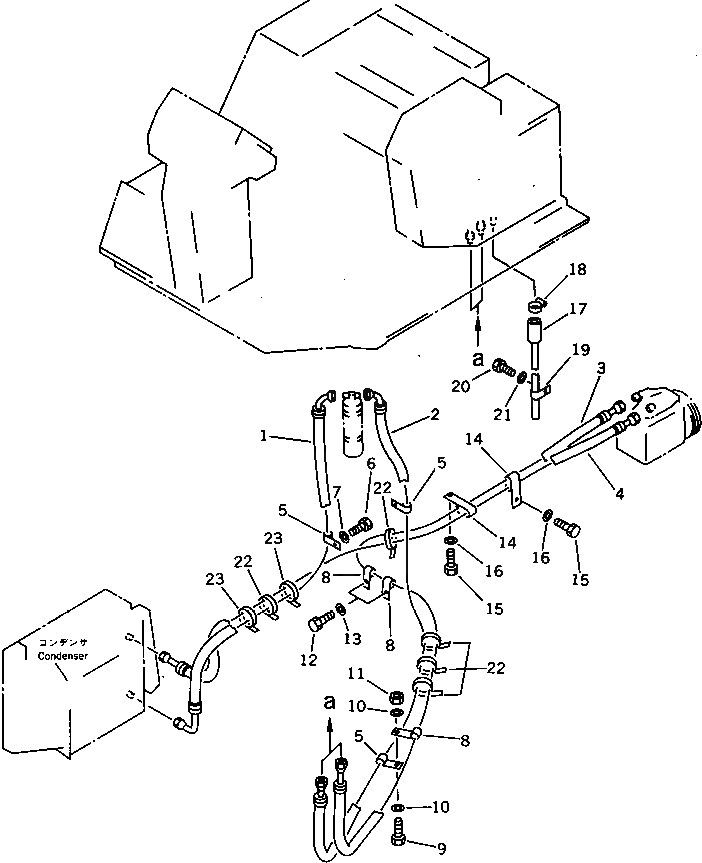
1

418-T46-1120

HOSE

SN: 20235-29999

1шт.

2

418-T46-1130

HOSE

SN: 20235-29999

1шт.

3

419-963-1470

HOSE

SN: 20235-@

1шт.

4

419-963-1450

HOSE

SN: 20235-29999

1шт.

5

424-09-12550

CLIP

SN: 20235-29999

3шт.

6

01010-51020

BOLT

SN: 20235-29999

1шт.

7

01643-31032

WASHER

SN: 20235-29999

1шт.

8

424-06-12790

CLIP

SN: 20235-@

3шт.

9

01010-51025

BOLT

SN: 20235-29999

1шт.

10

01643-31032

WASHER

SN: 20235-29999

2шт.

11

01580-11008

NUT

SN: 20235-29999

1шт.

12

01010-51020

BOLT

SN: 20235-29999

2шт.

13

01643-31032

WASHER

SN: 20235-29999

2шт.

14

419-963-1430

CLIP

SN: 20235-29999

2шт.

15

01010-51020

BOLT

SN: 20235-29999

2шт.

16

01643-31032

WASHER

SN: 20235-29999

2шт.

17

425-963-1190

HOSE

SN: 20235-@

1шт.

18

07281-00259

CLAMP

SN: 20235-@

1шт.

19

08036-01814

CLIP

SN: 20235-@

1шт.

20

01010-51020

BOLT

SN: 20235-29999

1шт.

21

01643-31032

WASHER

SN: 20235-29999

1шт.

22

08034-00823

BAND

SN: 20235-@

5шт.

23

08034-00536

BAND

SN: 20235-29999

2шт.

Выбрано товаров: 23