Запчасти Komatsu WA300-1 ГИДРОЛИНИЯ (КЛАПАН - БАК)(№-9999) УПРАВЛ-Е РАБОЧИМ ОБОРУДОВАНИЕМ

Схема запчастей Komatsu WA300-1 - ГИДРОЛИНИЯ (КЛАПАН - БАК)(№-9999) УПРАВЛ-Е РАБОЧИМ ОБОРУДОВАНИЕМ
FIT
1:1
100%

Артикул

Название

Примечание

Количество

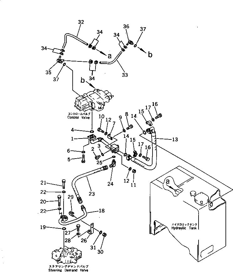
1

419-62-13550

TUBE

SN: 10001-@

1шт.

2

07040-12414

PLUG

SN: 10001-@

1шт.

3

07002-12434

O-RING

SN: 10001-@

1шт.

4

07000-13035

O-RING

SN: 10001-@

1шт.

5

01010-31045

BOLT

SN: 10001-29999

4шт.

6

01643-31032

WASHER

SN: 10001-29999

4шт.

7

419-62-13560

PLATE

SN: 10001-29999

1шт.

8

01010-31020

BOLT

SN: 10001-29999

1шт.

9

01643-31032

WASHER

SN: 10001-29999

1шт.

10

01010-31030

BOLT

SN: 10001-29999

1шт.

11

01580-11008

NUT

SN: 10001-29999

1шт.

12

01643-31032

WASHER

SN: 10001-29999

2шт.

13

419-62-13180

HOSE

SN: 10001-@

1шт.

14

07000-13038

O-RING

SN: 10001-@

2шт.

15

07371-31255

FLANGE

SN: 10001-@

4шт.

16

07372-21035

BOLT

SN: 10001-@

8шт.

|16

0

BOLT

SN: 10001-29999

8шт.

17

01643-51032

WASHER

SN: 10001-@

8шт.

18

419-62-11193

TUBE

SN: 11115-29999

1шт.

|18

419-62-11192

TUBE

SN: 10001-11114

1шт.

19

07000-13035

O-RING

SN: 10001-@

1шт.

20

01010-51060

BOLT

SN: 10001-29999

2шт.

21

01010-51055

BOLT

SN: 10001-29999

2шт.

22

01643-31032

WASHER

SN: 10001-29999

4шт.

23

07102-20609

HOSE¤ 900MM

SN: 10001-29999

1шт.

24

07235-10628

ELBOW

SN: 10001-@

1шт.

25

07002-12434

O-RING

SN: 10001-@

1шт.

26

418-62-13642

BRACKET

SN: 20001-29999

1шт.

|26

419-62-11211

PLATE

SN: 11115-19999

1шт.

|26

419-62-11210

PLATE

SN: 10001-11114

1шт.

27

01010-51025

BOLT

SN: 10001-29999

1шт.

28

01643-31032

WASHER

SN: 10001-29999

1шт.

29

07283-22738

CLIP

SN: 10001-29999

1шт.

30

01599-01011

NUT

SN: 10001-29999

2шт.

31

01643-31032

WASHER

SN: 10001-29999

2шт.

32

07260-20956

HOSE

SN: 10001-@

1шт.

33

07260-20922

HOSE

SN: 10001-@

1шт.

34

07281-00197

CLAMP

SN: 10001-@

8шт.

35

419-62-13590

ELBOW

SN: 10001-@

1шт.

36

419-62-13610

ELBOW

SN: 10001-@

1шт.

37

07002-12434

O-RING

SN: 10001-@

2шт.

Выбрано товаров: 41