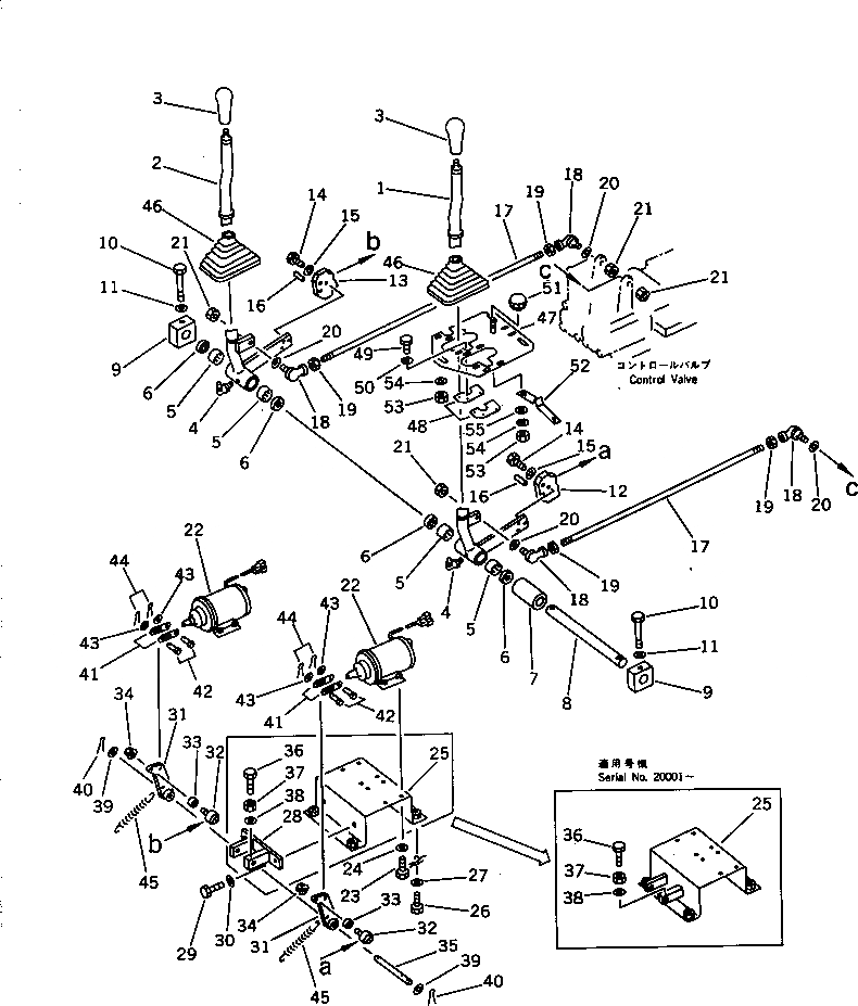
Запчасти Komatsu WA300-1 РЫЧАГ УПРАВЛЕНИЯ РАБОЧИМ ОБОРУДОВАНИЕМ(№-9999) УПРАВЛ-Е РАБОЧИМ ОБОРУДОВАНИЕМ

Схема запчастей Komatsu WA300-1 - РЫЧАГ УПРАВЛЕНИЯ РАБОЧИМ ОБОРУДОВАНИЕМ(№-9999) УПРАВЛ-Е РАБОЧИМ ОБОРУДОВАНИЕМ
FIT
1:1
100%

Артикул

Название

Примечание

Количество

1

419-43-18122

LEVER,BUCKET

SN: 10001-@

1шт.

2

419-43-18112

LEVER,LIFT ARM

SN: 10001-29999

1шт.

3

113-43-23420

KNOB

SN: 10001-29999

2шт.

4

07020-00900

FITTING,GREASE

SN: 10001-@

2шт.

5

06120-02016

BEARING

SN: 10001-@

4шт.

6

06122-02004

SEAL,BEARING

SN: 10001-@

4шт.

7

419-43-18130

SPACER

SN: 10001-@

1шт.

8

419-43-18140

PIN

SN: 10001-@

1шт.

9

419-43-18150

PLATE

SN: 10001-@

2шт.

10

01010-51075

BOLT

SN: 10001-29999

2шт.

11

01643-31032

WASHER

SN: 10001-29999

2шт.

12

419-43-18272

PLATE

SN: 10001-@

1шт.

13

419-43-18262

PLATE

SN: 10001-@

1шт.

14

01010-50825

BOLT

SN: 10001-29999

2шт.

15

01643-30823

WASHER

SN: 10001-29999

2шт.

16

04020-00616

PIN,DOWEL

SN: 10001-@

4шт.

17

419-43-18170

ROD

SN: 10001-@

2шт.

18

424-09-12440

JOINT,BALL

SN: 10001-@

4шт.

19

01582-11008

NUT

SN: 10001-@

4шт.

20

01643-31032

WASHER

SN: 10001-@

4шт.

21

426-09-11160

NUT,LOCK

SN: 10001-@

4шт.

22

421-06-11542

SOLENOID

SN: 10001-@

2шт.

|22

421-06-11470

BOOT

SN: 10001-@

2шт.

23

01010-50616

BOLT

SN: 10001-29999

8шт.

24

01643-30623

WASHER

SN: 10001-29999

8шт.

25

419-43-18222

SUPPORT

SN: 20001-29999

1шт.

|25

419-43-18221

SUPPORT

SN: 10001-19999

1шт.

26

01010-51020

BOLT

SN: 10001-29999

4шт.

27

01643-31032

WASHER

SN: 10001-29999

4шт.

28

419-43-18211

SUPPORT

SN: 11145-19999

1шт.

29

01010-51025

BOLT

SN: 10001-19999

2шт.

30

01643-31032

WASHER

SN: 10001-19999

2шт.

31

419-43-18182

LINK

SN: 10001-@

2шт.

32

421-43-18711

BEARING

SN: 10001-@

2шт.

33

419-43-18281

SPACER

SN: 10001-@

2шт.

34

426-09-11130

NUT,LOCK

SN: 10000-@

2шт.

35

419-43-18311

PIN

SN: 11145-@

1шт.

36

01010-50625

BOLT

SN: 11145-@

1шт.

37

01580-10605

NUT

SN: 11145-@

1шт.

38

01641-20608

WASHER

SN: 11145-@

1шт.

39

01641-21223

WASHER

SN: 11145-@

2шт.

40

04050-13022

PIN,COTTER

SN: 20001-@

2шт.

|40

0

PIN,COTTER

SN: 11145-19999

2шт.

41

424-43-18572

PLATE

SN: 10001-@

4шт.

42

04205-10620

PIN

SN: 10001-@

4шт.

43

01641-20608

WASHER

SN: 10001-@

4шт.

44

04050-11612

PIN,COTTER

SN: 10001-@

4шт.

45

234-885-1690

SPRING

SN: 10001-@

2шт.

46

419-43-18160

BOOT

SN: 10001-29999

2шт.

47

419-43-18340

PLATE

SN: 10380-@

1шт.

48

419-43-18330

PLATE

SN: 10380-@

2шт.

49

01010-50616

BOLT

SN: 10380-29999

6шт.

50

01643-30623

WASHER

SN: 10380-29999

6шт.

51

424-43-18620

KNOB

SN: 10001-@

1шт.

52

424-43-18610

SPRING

SN: 10001-@

1шт.

53

01580-50605

NUT

SN: 10001-29999

3шт.

54

01643-30623

WASHER

SN: 10001-29999

3шт.

55

01641-20812

WASHER

SN: 10001-@

1шт.

Выбрано товаров: 58