Запчасти Komatsu WA300-1 КОВШ .M(№-) РАБОЧЕЕ ОБОРУДОВАНИЕ

Схема запчастей Komatsu WA300-1 - КОВШ .M(№-) РАБОЧЕЕ ОБОРУДОВАНИЕ
FIT
1:1
100%

Артикул

Название

Примечание

Количество

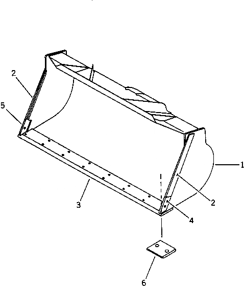
1

419-70-12115

BUCKET,2.3M3

SN: 30001-UP

1шт.

2

419-70-12131

PLATE (WELDED)

SN: 30001-UP

2шт.

3

419-70-12122

EDGE (WELDED)

SN: 10001-UP

1шт.

4

419-70-12154

PLATE (WELDED)

SN: 30001-UP

1шт.

5

419-70-12164

PLATE (WELDED)

SN: 30001-UP

1шт.

6

419-70-12142

PLATE (WELDED)

SN: 30001-UP

2шт.

Выбрано товаров: 6