Запчасти Komatsu WA300-1 ROCK КОВШ¤ V-ОБРАЗН КРОМКА .M (С ЗУБЬЯМИ) РАБОЧЕЕ ОБОРУДОВАНИЕ

Схема запчастей Komatsu WA300-1 - ROCK КОВШ¤ V-ОБРАЗН КРОМКА .M (С ЗУБЬЯМИ) РАБОЧЕЕ ОБОРУДОВАНИЕ
FIT
1:1
100%

Артикул

Название

Примечание

Количество

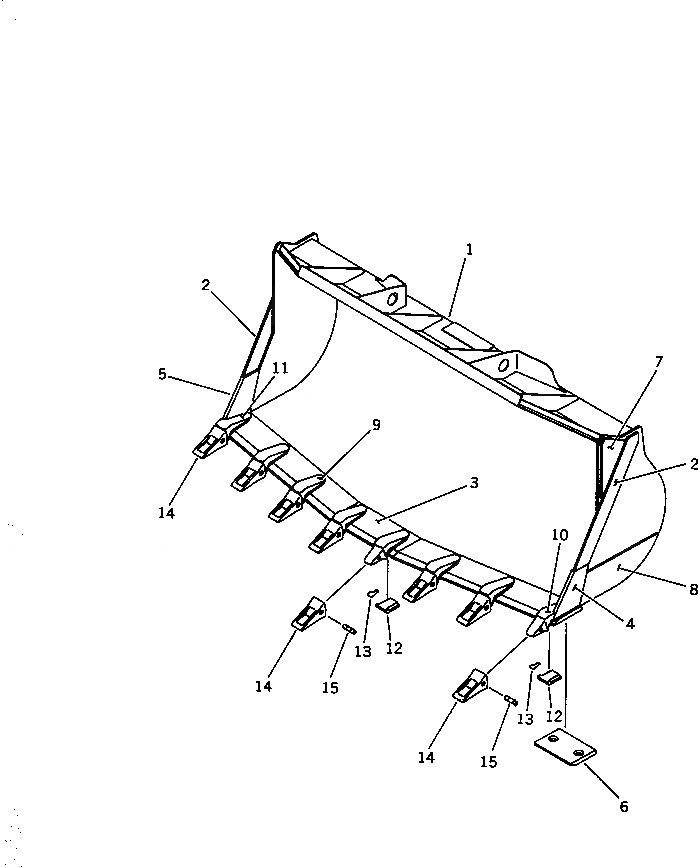
|1

419-819-1100

BUCKET ASS'Y

SN: 10001-UP

1шт.

|1

419-819-1110

BUCKET SUB ASS'Y,2.0M3

SN: 10001-UP

1шт.

1

419-809-1110

BUCKET

SN: 10001-UP

1шт.

2

419-809-1140

PLATE (WELDED)

SN: 10001-UP

2шт.

3

419-809-1120

EDGE (WELDED)

SN: 10001-UP

1шт.

4

419-809-1150

PLATE,L.H. (WELDED)

SN: 10001-UP

1шт.

5

419-809-1160

PLATE,R.H. (WELDED)

SN: 10001-UP

1шт.

6

419-70-12141

PLATE (WELDED)

SN: 10001-UP

2шт.

7

419-809-1230

PLATE (WELDED)

SN: 10001-UP

2шт.

8

419-809-1180

PLATE (WELDED)

SN: 10001-UP

2шт.

9

419-847-1210

ADAPTER (WELDED)

SN: 10001-UP

6шт.

10

419-847-1220

ADAPTER,L.H. (WELDED)

SN: 10001-UP

1шт.

11

419-847-1230

ADAPTER,R.H. (WELDED)

SN: 10001-UP

1шт.

12

419-847-1240

PLATE (WELDED)

SN: 10001-UP

8шт.

13

419-847-1250

PLATE (WELDED)

SN: 10001-UP

4шт.

14

202-70-12130

TOOTH

SN: 10001-UP

8шт.

15

09244-02496

PIN

SN: 10001-UP

8шт.

Выбрано товаров: 17