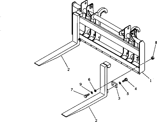
Запчасти Komatsu WA300-1 LUMBER ВИЛЫ (ДЛЯ СОЕДИНИТ. УСТР-ВО) РАБОЧЕЕ ОБОРУДОВАНИЕ

Схема запчастей Komatsu WA300-1 - LUMBER ВИЛЫ (ДЛЯ СОЕДИНИТ. УСТР-ВО) РАБОЧЕЕ ОБОРУДОВАНИЕ
FIT
1:1
100%

Артикул

Название

Примечание

Количество

|1

419-894-1100

FORK ASS'Y

SN: 10001-UP

1шт.

1

419-894-1110

CARRIER

SN: 10001-UP

1шт.

2

419-884-1120

FORK

SN: 10001-UP

2шт.

3

419-884-1130

PLATE

SN: 10001-UP

2шт.

4

01010-32460

BOLT

SN: 10001-UP

4шт.

5

01643-32460

WASHER

SN: 10001-UP

4шт.

6

419-884-1140

PLATE

SN: 10001-UP

4шт.

7

01010-31665

BOLT

SN: 10001-UP

4шт.

8

01580-01613

NUT

SN: 10001-UP

4шт.

9

01643-31645

WASHER

SN: 10001-UP

4шт.

Выбрано товаров: 10