Запчасти Komatsu WA300-1 СОЕДИНИТ. УСТР-ВО (МЕХАНИЧ. ТИП) РАБОЧЕЕ ОБОРУДОВАНИЕ

Схема запчастей Komatsu WA300-1 - СОЕДИНИТ. УСТР-ВО (МЕХАНИЧ. ТИП) РАБОЧЕЕ ОБОРУДОВАНИЕ
FIT
1:1
100%

Артикул

Название

Примечание

Количество

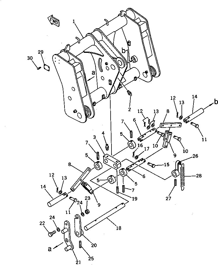
1

419-844-1110

FRAME

SN: 10001-UP

1шт.

2

07020-00000

FITTING,GREASE

SN: 10001-UP

2шт.

3

418-844-1240

LINK

SN: 10001-UP

1шт.

4

07020-00000

FITTING,GREASE

SN: 10001-UP

1шт.

5

415-879-1270

COLLAR

SN: 10001-UP

4шт.

6

419-844-1220

PIN

SN: 10001-UP

2шт.

7

04025-01065

PIN,SPRING

SN: 10001-UP

4шт.

8

418-844-1250

LINK

SN: 10001-UP

2шт.

9

418-844-1260

YOKE

SN: 10001-UP

2шт.

10

04205-11250

PIN

SN: 10001-UP

4шт.

11

418-844-1310

PIN

SN: 10001-UP

2шт.

12

04050-13022

PIN,COTTER

SN: 10001-UP

6шт.

13

01641-21223

WASHER

SN: 10001-UP

6шт.

14

419-844-1230

PIN

SN: 10001-UP

2шт.

15

04205-11250

PIN

SN: 10001-UP

2шт.

16

04050-13022

PIN,COTTER

SN: 10001-UP

2шт.

17

01641-21223

WASHER

SN: 10001-UP

2шт.

18

419-844-1210

ROD

SN: 10001-UP

1шт.

19

04025-01065

PIN,SPRING

SN: 10001-UP

1шт.

20

415-879-1230

LEVER

SN: 10001-UP

1шт.

21

418-844-1220

LEVER

SN: 10001-UP

1шт.

22

01010-31245

BOLT

SN: 10001-UP

1шт.

23

01598-01214

NUT

SN: 10001-UP

1шт.

24

01643-31232

WASHER

SN: 10001-UP

2шт.

25

04025-01050

PIN,SPRING

SN: 10001-UP

1шт.

26

415-879-1240

BRACKET

SN: 10001-UP

1шт.

27

04025-01050

PIN,SPRING

SN: 10001-UP

1шт.

28

415-879-1340

SPRING

SN: 10001-UP

1шт.

Выбрано товаров: 28