Запчасти Komatsu WA300-1 КОВШ (ДЛЯ СОЕДИНИТ. УСТР-ВО) РАБОЧЕЕ ОБОРУДОВАНИЕ

Схема запчастей Komatsu WA300-1 - КОВШ (ДЛЯ СОЕДИНИТ. УСТР-ВО) РАБОЧЕЕ ОБОРУДОВАНИЕ
FIT
1:1
100%

Артикул

Название

Примечание

Количество

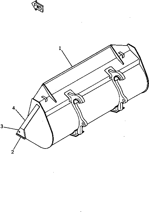
1

419-840-1102

BUCKET,2.3M3

SN: 10001-UP

1шт.

2

419-70-12122

EDGE (WELDED)

SN: 10001-UP

1шт.

3

419-70-12154

PLATE,L.H. (WELDED)

SN: 10001-UP

1шт.

|3

419-70-12164

PLATE,R.H. (WELDED)

SN: 10001-UP

1шт.

4

419-70-12131

PLATE (WELDED)

SN: 10001-UP

2шт.

Выбрано товаров: 5