Запчасти Komatsu WA300-1 ОСНОВН. КОНСТРУКЦИЯ И ПРИБОРНАЯ ПАНЕЛЬ (ДЛЯ КАБИНА ДЛЯ 2 ЧЕЛ.)(№-9999) СПЕЦ. APPLICATION ЧАСТИ

Схема запчастей Komatsu WA300-1 - ОСНОВН. КОНСТРУКЦИЯ И ПРИБОРНАЯ ПАНЕЛЬ (ДЛЯ КАБИНА ДЛЯ 2 ЧЕЛ.)(№-9999) СПЕЦ. APPLICATION ЧАСТИ
FIT
1:1
100%

Артикул

Название

Примечание

Количество

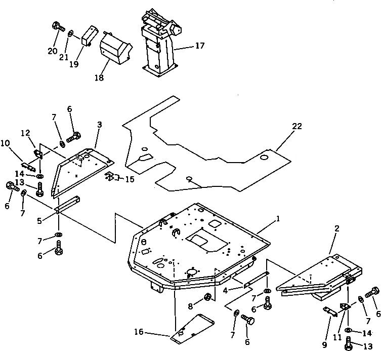
1

0

FRAME,FLOOR (MODIFIED PART)

SN: 20001-29999

1шт.

2

419-944-1280

FLOOR,L.H.

SN: 20001-29999

1шт.

3

419-944-1270

FLOOR,R.H.

SN: 20001-29999

1шт.

4

419-944-1310

ANGLE,L.H.

SN: 20001-29999

1шт.

5

419-944-1320

ANGLE,R.H.

SN: 20001-29999

1шт.

6

01010-51230

BOLT

SN: 20001-29999

16шт.

7

01643-31232

WASHER

SN: 20001-29999

20шт.

8

01580-11210

NUT

SN: 20001-29999

4шт.

9

419-944-1330

ANGLE,L.H.

SN: 20001-29999

1шт.

10

419-944-1340

ANGLE,R.H.

SN: 20001-29999

1шт.

11

419-944-1350

ANGLE,L.H.

SN: 20001-29999

1шт.

12

419-944-1360

ANGLE,R.H.

SN: 20001-29999

1шт.

13

01010-51225

BOLT

SN: 20001-29999

4шт.

14

01643-31232

WASHER

SN: 20001-29999

4шт.

15

419-54-12850

SHIM¤ 0.5MM

SN: 20001-29999

5шт.

|15

419-54-12860

SHIM¤ 1.6MM

SN: 20001-29999

5шт.

16

419-944-1370

COVER

SN: 20001-29999

1шт.

17

418-944-1791

SUPPORT,(MODIFIED PART)

SN: 20001-29999

1шт.

18

418-944-1831

COVER

SN: 20001-@

1шт.

19

418-944-1821

COVER

SN: 20001-@

1шт.

20

01010-50816

BOLT

SN: 10001-29999

2шт.

21

01643-30823

WASHER

SN: 10001-29999

2шт.

22

418-944-1671

MAT,FLOOR

SN: 20001-29999

1шт.

23

0

MASTER CYLINDER A.,(MODIFIED PART) (NOT SHOWN)

SN: 10001-29999

1шт.

Выбрано товаров: 24