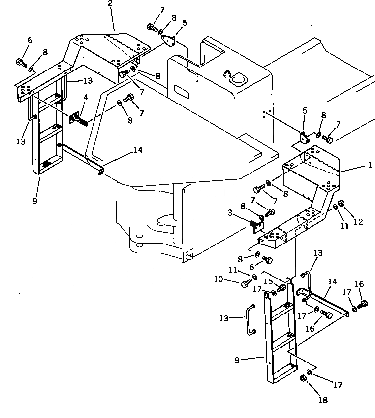
Запчасти Komatsu WA300-1 КРЫЛО И ЛЕСТНИЦА (ДЛЯ КАБИНА ДЛЯ 2 ЧЕЛ.)(№-9999) СПЕЦ. APPLICATION ЧАСТИ

Схема запчастей Komatsu WA300-1 - КРЫЛО И ЛЕСТНИЦА (ДЛЯ КАБИНА ДЛЯ 2 ЧЕЛ.)(№-9999) СПЕЦ. APPLICATION ЧАСТИ
FIT
1:1
100%

Артикул

Название

Примечание

Количество

1

419-944-1120

FENDER,L.H.

SN: 10001-19999

1шт.

2

419-944-1130

FENDER,R.H.

SN: 10001-19999

1шт.

3

419-944-1140

BRACKET,L.H.

SN: 10001-@

1шт.

4

419-944-1150

BRACKET,R.H.

SN: 10001-@

1шт.

5

419-54-11570

BRACKET

SN: 10001-19999

2шт.

6

01010-51225

BOLT

SN: 10001-@

4шт.

7

01010-51230

BOLT

SN: 10001-19999

12шт.

8

01643-31232

WASHER

SN: 10001-19999

16шт.

9

419-944-1160

LADDER

SN: 10001-@

2шт.

10

01010-51235

BOLT

SN: 10001-@

4шт.

11

01643-31232

WASHER

SN: 10001-@

8шт.

12

01580-11210

NUT

SN: 10001-@

4шт.

13

419-944-1170

HANDRAIL

SN: 10001-@

4шт.

14

419-944-1180

SUPPORT

SN: 10001-@

2шт.

15

01010-51230

BOLT

SN: 10001-@

8шт.

16

01010-51235

BOLT

SN: 10001-@

4шт.

17

01643-31232

WASHER

SN: 10001-@

16шт.

18

01580-11210

NUT

SN: 10001-@

2шт.

Выбрано товаров: 18