Запчасти Komatsu WA300-1 ЭЛЕКТРИКА (ДЛЯ КАБИНА ДЛЯ 2 ЧЕЛ.)(№-) СПЕЦ. APPLICATION ЧАСТИ

Схема запчастей Komatsu WA300-1 - ЭЛЕКТРИКА (ДЛЯ КАБИНА ДЛЯ 2 ЧЕЛ.)(№-) СПЕЦ. APPLICATION ЧАСТИ
FIT
1:1
100%

Артикул

Название

Примечание

Количество

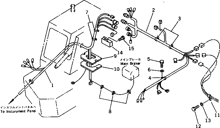
1

419-944-1550

WIRING HARNESS

SN: 30001-UP

1шт.

2

418-944-1643

WIRE ASS'Y

SN: 30001-UP

1шт.

3

08036-01414

CLIP

SN: 10001-UP

2шт.

4

08036-10814

CLIP

SN: 10001-UP

1шт.

5

01010-51020

BOLT

SN: 30001-UP

3шт.

6

01643-31032

WASHER

SN: 10001-UP

3шт.

7

08034-00536

BAND

SN: 10001-UP

2шт.

8

08034-00414

BAND

SN: 10001-UP

3шт.

9

418-944-1351

SHEET

SN: 10001-UP

1шт.

10

418-944-1420

PLATE

SN: 10001-UP

1шт.

11

175-01-23160

CLIP

SN: 10001-UP

1шт.

12

01010-51016

BOLT

SN: 10001-UP

1шт.

13

01643-31032

WASHER

SN: 10001-UP

1шт.

14

569-06-61140

RELAY

SN: 30001-UP

1шт.

15

01435-00610

BOLT

SN: 30001-UP

1шт.

Выбрано товаров: 15