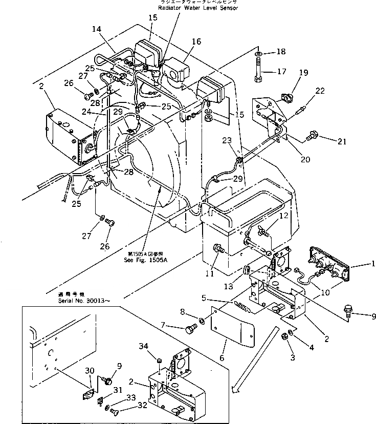
Запчасти Komatsu WA300-1 ЭЛЕКТРИКА (ЗАДН. ОСВЕЩЕНИЕ)(№-) КОМПОНЕНТЫ ДВИГАТЕЛЯ И ЭЛЕКТРИКА

Схема запчастей Komatsu WA300-1 - ЭЛЕКТРИКА (ЗАДН. ОСВЕЩЕНИЕ)(№-) КОМПОНЕНТЫ ДВИГАТЕЛЯ И ЭЛЕКТРИКА
FIT
1:1
100%

Артикул

Название

Примечание

Количество

1

415-06-13220

COMBINATION LAMP A.,L.H.

SN: 30001-UP

1шт.

|1

415-06-13210

COMBINATION LAMP A.,R.H.

SN: 30001-UP

1шт.

|1

415-06-13270

LENS,L.H.

SN: 30001-UP

1шт.

|1

415-06-13260

LENS,R.H.

SN: 30001-UP

1шт.

|1

08105-12420

BULB¤ 25W

SN: 30001-UP

2шт.

|1

08104-12420

BULB¤ 25/10W

SN: 30001-UP

2шт.

|1

08102-02403

BULB¤ 3W

SN: 30001-UP

2шт.

2

418-06-14330

BRACKET

SN: 30013-UP

2шт.

|2

423-06-13251

BRACKET

SN: 30001-30012

2шт.

3

01580-10504

NUT

SN: 30001-UP

8шт.

4

01641-20508

WASHER

SN: 30001-UP

8шт.

5

417-06-13432

SPRING

SN: 30001-UP

4шт.

6

423-06-13291

COVER

SN: 30001-UP

2шт.

7

01010-50816

BOLT

SN: 30001-UP

6шт.

8

01643-30823

WASHER

SN: 30001-UP

6шт.

9

01435-00812

BOLT

SN: 30013-UP

4шт.

|9

01435-01220

BOLT

SN: 30001-30012

4шт.

10

423-06-13310

WIRE ASS'Y

SN: 30001-UP

2шт.

11

01435-00816

BOLT

SN: 30001-UP

8шт.

12

01434-00412

BOLT¤ WING,WING

SN: 30001-30012

2шт.

13

08037-03614

GROMMET

SN: 30001-UP

4шт.

14

419-06-12342

WIRE ASS'Y

SN: 30001-UP

1шт.

15

417-06-13910

LAMP ASS'Y

SN: 30075-UP

2шт.

|15

22W-06-12381

LAMP ASS'Y

SN: 30001-30074

2шт.

|15

22W-06-12170

BULB¤ 24V

SN: 30001-UP

1шт.

16

08164-00000

BUZZER,BACK

SN: 10001-UP

1шт.

17

6132-11-6460

BOLT

SN: 20001-UP

2шт.

18

01643-30823

WASHER

SN: 20001-UP

2шт.

19

08137-32400

LAMP ASS'Y,LICENSE

SN: 10001-UP

1шт.

|19

08110-12410

BULB¤ 12W

SN: 10001-UP

1шт.

20

421-06-17116

BRACKET

SN: 30001-UP

1шт.

21

01435-01225

BOLT

SN: 30001-UP

2шт.

22

424-06-12940

RIVET

SN: 10001-UP

1шт.

23

08037-01008

GROMMET

SN: 10001-UP

1шт.

24

424-06-12122

WIRE ASS'Y

SN: 10001-UP

1шт.

25

08052-01711

CLIP

SN: 10001-UP

3шт.

26

01220-40608

SCREW

SN: 10001-UP

3шт.

27

01641-20608

WASHER

SN: 10001-UP

3шт.

28

08036-10814

CLIP

SN: 30001-UP

2шт.

29

08036-11214

CLIP

SN: 30001-UP

2шт.

30

418-06-17130

BRACKET

SN: 30013-UP

2шт.

31

417-06-13740

LOCK

SN: 30013-UP

2шт.

32

01220-40308

SCREW

SN: 30013-UP

8шт.

33

01641-20305

WASHER

SN: 30013-UP

8шт.

34

09415-00506

CAP

SN: 30013-UP

2шт.

Выбрано товаров: 45