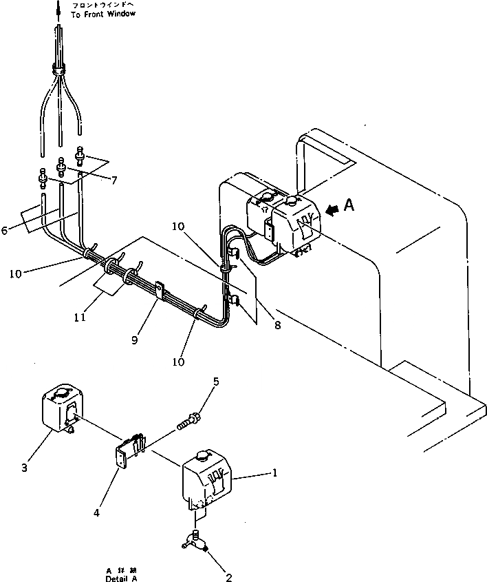
Запчасти Komatsu WA300-1 ОМЫВАТЕЛЬ СТЕКЛА (ДЛЯ КАБИНА ДЛЯ 2 ЧЕЛ.)(№-) СПЕЦ. APPLICATION ЧАСТИ

Схема запчастей Komatsu WA300-1 - ОМЫВАТЕЛЬ СТЕКЛА (ДЛЯ КАБИНА ДЛЯ 2 ЧЕЛ.)(№-) СПЕЦ. APPLICATION ЧАСТИ
FIT
1:1
100%

Артикул

Название

Примечание

Количество

|1

423-947-1100

TANK ASS'Y

SN: 30001-UP

1шт.

1

423-947-1120

TANK

SN: 30001-UP

1шт.

2

423-947-1110

PUMP ASS'Y

SN: 30001-UP

2шт.

3

421-07-15160

TANK

SN: 10001-UP

1шт.

4

418-944-1462

BRACKET,(MODIFIED PART)

SN: 30001-UP

1шт.

5

01435-01025

BOLT

SN: 30001-UP

2шт.

6

418-07-16130

HOSE

SN: 30001-UP

3шт.

7

421-07-15110

JOINT

SN: 10001-UP

3шт.

8

08036-01814

CLIP

SN: 30001-UP

2шт.

9

08036-11214

CLIP

SN: 30001-UP

1шт.

10

08034-00310

BAND

SN: 30001-UP

3шт.

11

08034-00823

BAND

SN: 30001-UP

2шт.

Выбрано товаров: 12