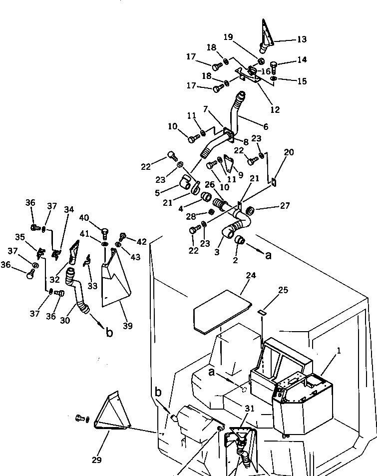
Запчасти Komatsu WA300-1 КОНДИЦ. ВОЗДУХА (ДЛЯ КАБИНА ДЛЯ 2 ЧЕЛ.)(№-9999) СПЕЦ. APPLICATION ЧАСТИ

Схема запчастей Komatsu WA300-1 - КОНДИЦ. ВОЗДУХА (ДЛЯ КАБИНА ДЛЯ 2 ЧЕЛ.)(№-9999) СПЕЦ. APPLICATION ЧАСТИ
FIT
1:1
100%

Артикул

Название

Примечание

Количество

1

418-U54-1100

AIR CONDITIONER UNIT

SN: 10001-@

1шт.

2

416-942-1310

PIPE

SN: 10001-19999

1шт.

3

418-U54-1120

HOSE

SN: 10001-19999

1шт.

4

416-942-1680

CONNECTOR

SN: 10001-19999

1шт.

5

421-07-12820

CONNECTOR

SN: 10001-19999

1шт.

6

418-U54-1130

HOSE

SN: 10001-19999

1шт.

7

418-943-1220

PLATE

SN: 10001-19999

1шт.

8

416-943-1380

FINISHER

SN: 10001-19999

1шт.

9

418-U54-1140

BRACKET

SN: 10001-19999

1шт.

10

01010-50616

BOLT

SN: 10001-@

4шт.

11

01643-30623

WASHER

SN: 10001-@

4шт.

12

418-943-1230

BRACKET

SN: 10001-19999

1шт.

13

418-943-1210

DEFROSTER,(MODIFIED PART)

SN: 10001-19999

1шт.

14

01010-50616

BOLT

SN: 10001-@

2шт.

15

01643-30623

WASHER

SN: 10001-@

2шт.

16

418-943-1240

BRACKET

SN: 10001-19999

1шт.

17

01010-50612

BOLT

SN: 10001-19999

3шт.

18

01643-30623

WASHER

SN: 10001-19999

3шт.

19

01580-10605

NUT

SN: 10001-19999

1шт.

20

418-944-1390

PLATE

SN: 10001-19999

1шт.

21

205-03-71191

CLAMP

SN: 10001-19999

2шт.

22

01010-50816

BOLT

SN: 10001-19999

3шт.

23

01643-30823

WASHER

SN: 10001-19999

3шт.

24

418-U54-1150

MAT

SN: 10001-19999

1шт.

25

418-U54-1160

SHEET

SN: 10001-@

1шт.

26

418-943-1290

FINISHER

SN: 10001-19999

1шт.

27

08037-05016

GROMMET

SN: 10001-@

1шт.

28

08037-01610

GROMMET

SN: 10001-19999

1шт.

29

418-U54-1110

COVER,(MODIFIED PART)

SN: 10001-19999

1шт.

30

418-943-1130

HOSE

SN: 10001-19999

2шт.

31

418-943-1140

DEFROSTER,L.H.

SN: 10001-@

1шт.

32

418-943-1150

DEFROSTER,R.H.

SN: 10001-@

1шт.

33

418-943-1180

CLAMP

SN: 10001-@

2шт.

34

418-943-1170

PLATE

SN: 10001-@

2шт.

35

418-943-1160

PLATE

SN: 10001-@

2шт.

36

01010-50612

BOLT

SN: 10001-@

12шт.

37

01643-30623

WASHER

SN: 10001-@

12шт.

38

418-943-1371

COVER,L.H.

SN: 10001-19999

1шт.

39

418-943-1261

COVER,R.H.

SN: 10001-19999

1шт.

40

01010-50612

BOLT

SN: 10001-@

2шт.

41

01643-30623

WASHER

SN: 10001-@

2шт.

42

01220-40612

SCREW

SN: 10001-@

6шт.

43

01643-30623

WASHER

SN: 10001-@

6шт.

44

09415-00506

CAP

SN: 10001-@

1шт.

Выбрано товаров: 0