Запчасти Komatsu WA300-1 КОНДИЦ. ВОЗДУХА (ДЛЯ КАБИНА ДЛЯ 2 ЧЕЛ.)(№-.) СПЕЦ. APPLICATION ЧАСТИ

Схема запчастей Komatsu WA300-1 - КОНДИЦ. ВОЗДУХА (ДЛЯ КАБИНА ДЛЯ 2 ЧЕЛ.)(№-.) СПЕЦ. APPLICATION ЧАСТИ
FIT
1:1
100%

Артикул

Название

Примечание

Количество

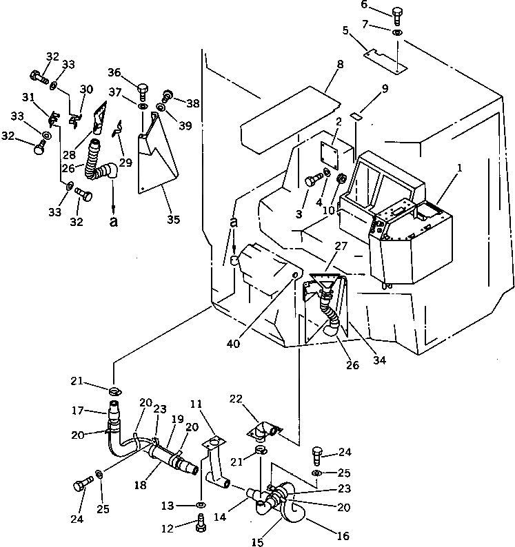
1

418-U54-1100

AIR CONDITIONER UNIT

SN: 10001-.

1шт.

2

418-U54-1180

PLATE

SN: 20001-@

1шт.

3

01010-50616

BOLT

SN: 10001-@

4шт.

4

01643-30623

WASHER

SN: 10001-@

4шт.

5

418-U54-1170

BRACKET

SN: 20001-@

1шт.

6

01010-50616

BOLT

SN: 10001-@

2шт.

7

01643-30623

WASHER

SN: 10001-@

2шт.

8

418-U54-1151

MAT

SN: 20001-@

1шт.

9

418-U54-1160

SHEET

SN: 10001-@

1шт.

10

08037-05016

GROMMET

SN: 10001-@

1шт.

11

419-943-1110

TUBE

SN: 20001-@

1шт.

12

01010-50816

BOLT

SN: 20001-@

2шт.

13

01643-30823

WASHER

SN: 20001-@

2шт.

14

419-943-1120

HOSE

SN: 20001-@

1шт.

15

419-943-1140

COVER

SN: 20001-@

1шт.

16

419-943-1170

COVER

SN: 20001-@

1шт.

17

419-943-1130

HOSE

SN: 20001-@

1шт.

18

419-943-1150

COVER

SN: 20001-@

1шт.

19

419-943-1180

COVER

SN: 20001-@

1шт.

20

08034-00536

BAND

SN: 20001-@

7шт.

21

07281-00609

CLAMP

SN: 20001-@

2шт.

22

418-943-1420

TUBE

SN: 20001-@

1шт.

23

418-943-1450

CLIP

SN: 20001-@

3шт.

24

01010-51020

BOLT

SN: 20001-.

3шт.

25

01643-31032

WASHER

SN: 20001-@

3шт.

26

418-943-1131

HOSE

SN: 20001-@

2шт.

27

418-943-1140

DEFROSTER,L.H.

SN: 10001-@

1шт.

28

418-943-1150

DEFROSTER,R.H.

SN: 10001-@

1шт.

29

418-943-1180

CLAMP

SN: 10001-@

2шт.

30

418-943-1170

PLATE

SN: 10001-@

2шт.

31

418-943-1160

PLATE

SN: 10001-@

2шт.

32

01010-50612

BOLT

SN: 10001-@

12шт.

33

01643-30623

WASHER

SN: 10001-@

12шт.

34

418-943-1372

COVER,L.H.

SN: 20001-@

1шт.

35

418-943-1262

COVER,R.H.

SN: 20001-@

1шт.

36

01010-50612

BOLT

SN: 10001-@

2шт.

37

01643-30623

WASHER

SN: 10001-@

2шт.

38

01220-40612

SCREW

SN: 10001-@

6шт.

39

01643-30623

WASHER

SN: 10001-@

6шт.

40

09415-00506

CAP

SN: 10001-@

1шт.

Выбрано товаров: 40