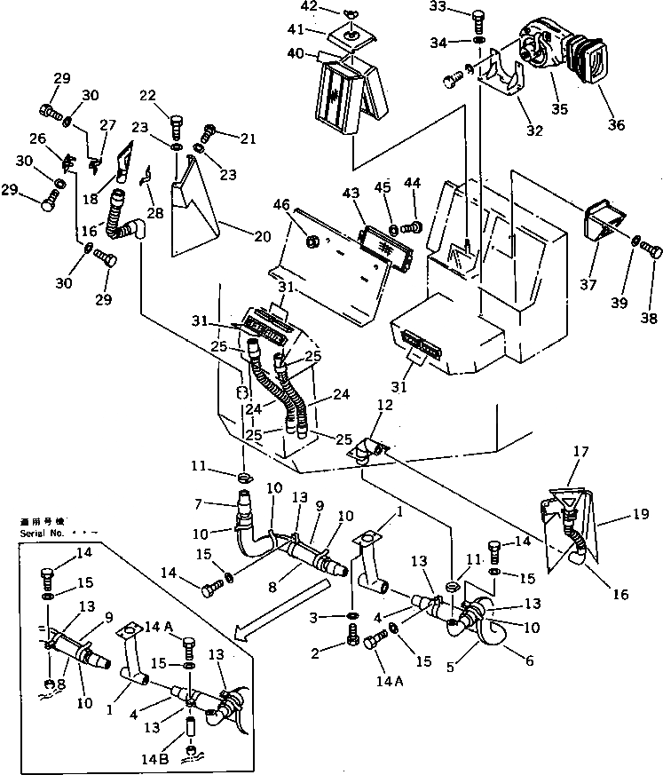
Запчасти Komatsu WA300-1 ОБОГРЕВАТЕЛЬ. (ДЛЯ КАБИНА ДЛЯ 2 ЧЕЛ.) (/)(№-9999) СПЕЦ. APPLICATION ЧАСТИ

Схема запчастей Komatsu WA300-1 - ОБОГРЕВАТЕЛЬ. (ДЛЯ КАБИНА ДЛЯ 2 ЧЕЛ.) (/)(№-9999) СПЕЦ. APPLICATION ЧАСТИ
FIT
1:1
100%

Артикул

Название

Примечание

Количество

1

419-943-1110

TUBE

SN: 20001-29999

1шт.

2

01010-50816

BOLT

SN: 20001-29999

2шт.

3

01643-30823

WASHER

SN: 20001-29999

2шт.

4

419-943-1120

HOSE

SN: 20001-29999

1шт.

5

419-943-1140

COVER

SN: 20001-29999

1шт.

6

419-943-1170

COVER

SN: 20001-29999

1шт.

7

419-943-1130

HOSE

SN: 20001-29999

1шт.

8

419-943-1150

COVER

SN: 20001-29999

1шт.

9

419-943-1180

COVER

SN: 20001-29999

1шт.

10

08034-00536

BAND

SN: 20001-29999

7шт.

11

07281-00609

CLAMP

SN: 20001-29999

2шт.

12

418-943-1420

TUBE

SN: 20001-29999

1шт.

13

418-943-1450

CLIP

SN: 20001-29999

3шт.

14

01010-51020

BOLT

SN: 20001-29999

2шт.

14A

01010-51035

BOLT

SN: .-29999

1шт.

|14A

01010-51020

BOLT

SN: 20001-.

1шт.

14B

424-64-11110

SPACER

SN: .-29999

1шт.

15

01643-31032

WASHER

SN: 20001-29999

3шт.

16

418-943-1131

HOSE

SN: 20001-@

2шт.

17

418-943-1140

DEFROSTER

SN: 10001-@

1шт.

18

418-943-1150

DEFROSTER

SN: 10001-@

1шт.

19

418-943-1372

COVER

SN: 20001-@

1шт.

20

418-943-1262

COVER

SN: 20001-@

1шт.

21

01220-40612

SCREW

SN: .-@

6шт.

22

01010-50612

BOLT

SN: .-29999

2шт.

23

01643-30623

WASHER

SN: 10001-29999

8шт.

24

421-07-12831

HOSE

SN: 10001-@

2шт.

25

421-07-12810

CONNECTOR

SN: 10001-@

4шт.

26

418-943-1160

PLATE

SN: 10001-@

2шт.

27

418-943-1170

PLATE

SN: 10001-@

2шт.

28

418-943-1180

CLAMP

SN: 10001-@

2шт.

29

01010-50612

BOLT

SN: 10001-29999

12шт.

30

01643-30623

WASHER

SN: 10001-29999

12шт.

31

421-07-12512

GRILLE ASS'Y

SN: 10001-@

6шт.

32

425-963-1210

BRACKET

SN: .-@

1шт.

33

01010-50820

BOLT

SN: .-@

4шт.

34

01643-30823

WASHER

SN: .-@

4шт.

35

425-963-1160

BLOWER ASS'Y

SN: .-@

1шт.

36

425-963-1180

DUCT

SN: .-@

1шт.

37

425-963-1170

DAMPER ASS'Y

SN: .-@

1шт.

38

01010-50820

BOLT

SN: .-@

2шт.

39

01643-30823

WASHER

SN: .-@

2шт.

40

421-07-12312

FILTER

SN: 10001-@

2шт.

41

425-07-11130

PLATE

SN: 10001-@

1шт.

42

01540-20840

NUT

SN: 10001-@

1шт.

43

423-T43-1430

FILTER

SN: .-@

1шт.

44

01220-40820

SCREW

SN: .-@

2шт.

45

01643-30823

WASHER

SN: .-@

4шт.

46

01580-10806

NUT

SN: .-@

2шт.

Выбрано товаров: 49