Запчасти Komatsu WA300-1 БОКОВ. СДВИГ PITCH И ANGLE SNOW PНИЗ. (БОКОВ. СДВИГ ЛИНИЯ ЦИЛИНДРА) (С МЕХАНИЧ. СОЕДИНИТ. УСТР-ВО) СПЕЦ. APPLICATION ЧАСТИ

Схема запчастей Komatsu WA300-1 - БОКОВ. СДВИГ PITCH И ANGLE SNOW PНИЗ. (БОКОВ. СДВИГ ЛИНИЯ ЦИЛИНДРА) (С МЕХАНИЧ. СОЕДИНИТ. УСТР-ВО) СПЕЦ. APPLICATION ЧАСТИ
FIT
1:1
100%

Артикул

Название

Примечание

Количество

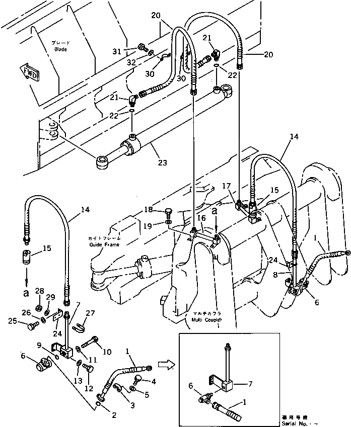
1

419-915-1211

HOSE

SN: .-UP

2шт.

|1

419-915-1210

HOSE

SN: 10001-.

2шт.

2

07000-13025

O-RING

SN: 10001-.

2шт.

3

07371-30638

FLANGE,SPLIT

SN: 10001-.

4шт.

4

01010-30830

BOLT

SN: 10001-.

8шт.

5

01643-50823

WASHER

SN: 10001-.

8шт.

6

41H-62-13300

JOINT,SWIVEL

SN: .-UP

2шт.

|6

07128-00600

JOINT,SWIVEL

SN: 10001-.

2шт.

7

419-918-1131

TUBE,L.H.

SN: .-UP

1шт.

|7

419-918-1130

TUBE,L.H.

SN: 10001-.

1шт.

8

419-918-1141

TUBE,R.H.

SN: .-UP

1шт.

|8

419-918-1140

TUBE,R.H.

SN: 10001-.

1шт.

9

07000-13030

O-RING

SN: 10001-.

2шт.

10

01010-30860

BOLT

SN: 10001-.

8шт.

11

01602-20825

WASHER,SPRING

SN: 10001-.

8шт.

12

01010-31020

BOLT

SN: 10001-UP

4шт.

13

01643-31032

WASHER

SN: 10001-UP

4шт.

14

419-915-1220

HOSE

SN: 10001-UP

2шт.

15

423-915-1310

JOINT ASS'Y

SN: 10001-UP

2шт.

16

423-915-1210

TUBE,L.H.

SN: 10001-UP

1шт.

17

423-915-1230

TUBE,R.H.

SN: 10001-UP

1шт.

18

01010-31020

BOLT

SN: 10001-UP

4шт.

19

01643-31032

WASHER

SN: 10001-UP

4шт.

20

07123-20615

HOSE

SN: 10001-UP

2шт.

21

07235-10628

ELBOW

SN: 10001-UP

2шт.

22

07002-12434

O-RING

SN: 10001-UP

2шт.

23

707-00-80410

CYLINDER ASS'Y,SIDE SHIFT

SN: 10001-UP

1шт.

24

419-918-1150

BRACKET

SN: 10001-UP

2шт.

25

01010-31020

BOLT

SN: 10001-UP

4шт.

26

01643-31032

WASHER

SN: 10001-UP

4шт.

27

07283-22738

CLIP

SN: 10001-UP

2шт.

28

01599-01011

NUT

SN: 10001-UP

4шт.

29

01643-31032

WASHER

SN: 10001-UP

4шт.

30

423-905-1390

CLAMP

SN: 10001-UP

2шт.

31

01010-30816

BOLT

SN: 10001-UP

4шт.

32

01602-00825

WASHER,SPRING

SN: 10001-UP

4шт.

Выбрано товаров: 36