Запчасти Komatsu WA300-1 PITCH И ANGLE SNOW PНИЗ. НЕСУЩИЙ ЭЛЕМЕНТ (С НАКЛОНЯЕМ.) (С ГИДРАВЛ СОЕДИНИТ. УСТР-ВО)(№-) СПЕЦ. APPLICATION ЧАСТИ

Схема запчастей Komatsu WA300-1 - PITCH И ANGLE SNOW PНИЗ. НЕСУЩИЙ ЭЛЕМЕНТ (С НАКЛОНЯЕМ.)       (С ГИДРАВЛ СОЕДИНИТ. УСТР-ВО)(№-) СПЕЦ. APPLICATION ЧАСТИ
FIT
1:1
100%

Артикул

Название

Примечание

Количество

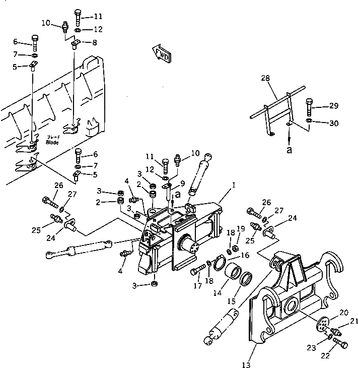
1

419-919-1110

CARRIER

SN: 20001-UP

1шт.

2

07144-10604

BUSHING

SN: 20001-UP

2шт.

3

417-09-11110

SEAL,DUST

SN: 20001-UP

4шт.

4

07020-00000

FITTING,GREASE

SN: 20001-UP

2шт.

5

423-904-1220

PIN

SN: 20001-UP

2шт.

6

01010-31625

BOLT

SN: 20001-UP

2шт.

7

421-70-11280

WASHER

SN: 20001-UP

2шт.

8

416-70-11950

PIN

SN: 20001-UP

2шт.

9

423-904-1210

PIN

SN: 20001-UP

2шт.

10

07020-00000

FITTING,GREASE

SN: 20001-UP

4шт.

11

01010-31220

BOLT

SN: 20001-UP

4шт.

12

175-54-34170

WASHER

SN: 20001-UP

4шт.

13

419-T50-1120

FRAME,TILT

SN: 20001-UP

1шт.

14

426-70-11890

BUSHING

SN: 20001-UP

1шт.

15

425-09-11110

SEAL,DUST

SN: 20001-UP

1шт.

16

426-70-11170

RING,CORD

SN: 20001-UP

1шт.

17

426-09-11150

BOLT

SN: 20001-UP

1шт.

18

01641-20608

WASHER

SN: 20001-UP

2шт.

19

426-09-11130

NUT

SN: 20001-UP

1шт.

20

419-T50-1230

PLATE

SN: 20001-UP

1шт.

21

07020-00000

FITTING,GREASE

SN: 20001-UP

1шт.

22

01010-52280

BOLT

SN: 20001-UP

6шт.

23

01643-32260

WASHER

SN: 20001-UP

6шт.

24

419-T50-1240

PIN

SN: 20001-UP

2шт.

25

07020-00000

FITTING,GREASE

SN: 20001-UP

2шт.

26

01010-31220

BOLT

SN: 20001-UP

2шт.

27

175-54-34170

WASHER

SN: 20001-UP

2шт.

28

416-T50-1150

SUPPORT

SN: 20001-UP

1шт.

29

01010-31225

BOLT

SN: 20001-UP

2шт.

30

01643-31232

WASHER

SN: 20001-UP

2шт.

Выбрано товаров: 30