Запчасти Komatsu WA300-1 ГИДРОЛИНИЯ ТРАНСМИССИИ(№-) ТРАНСМИССИЯ

Схема запчастей Komatsu WA300-1 - ГИДРОЛИНИЯ ТРАНСМИССИИ(№-) ТРАНСМИССИЯ
FIT
1:1
100%

Артикул

Название

Примечание

Количество

|1

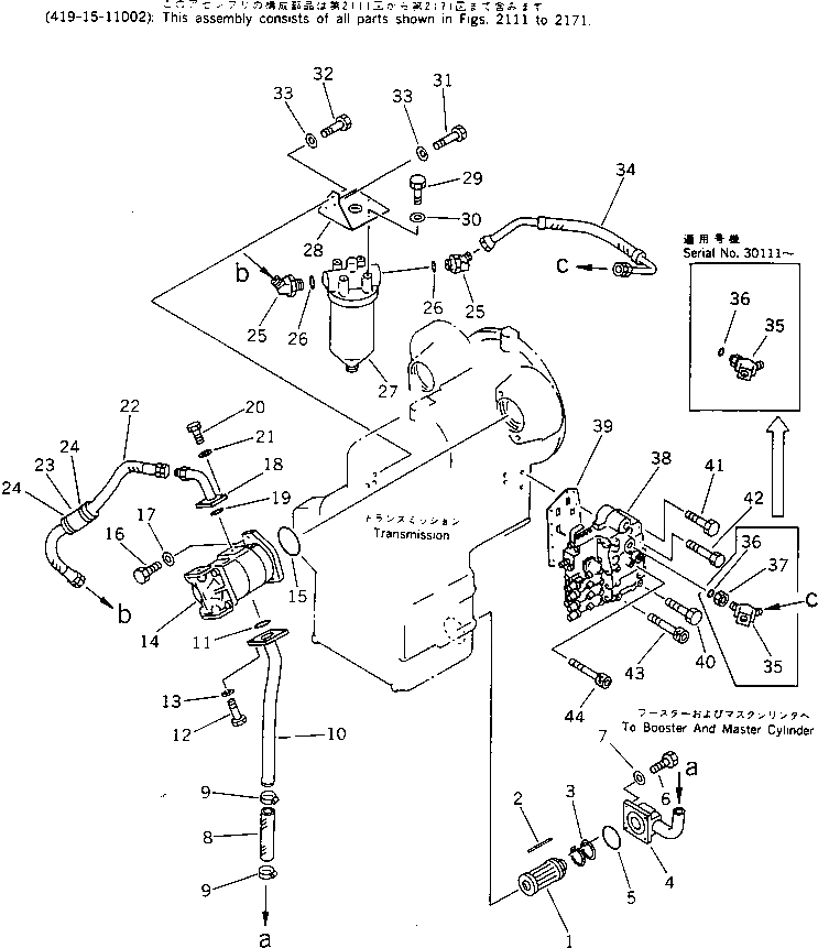
419-15-11002

TRANSMISSION ASS'Y

SN: 30001-UP

1шт.

|1

419-15-14510

STRAINER ASS'Y

SN: 10001-UP

1шт.

1

419-15-14650

STRAINER

SN: 10001-UP

1шт.

2

417-15-14660

MAGNET

SN: 10001-UP

5шт.

3

419-15-14660

SPRING,SUPPORT

SN: 10001-UP

1шт.

4

419-15-14523

FLANGE

SN: 20001-UP

1шт.

5

07000-02085

O-RING

SN: 10001-UP

1шт.

6

01010-31080

BOLT

SN: 20001-UP

4шт.

7

01643-31032

WASHER

SN: 10001-UP

4шт.

8

419-15-14752

HOSE

SN: 11388-UP

1шт.

9

07281-00489

CLAMP

SN: 10001-UP

2шт.

10

419-15-14533

TUBE

SN: 11388-UP

1шт.

11

07000-03048

O-RING

SN: 10001-UP

1шт.

12

01010-31235

BOLT

SN: 10001-UP

4шт.

13

01602-01236

WASHER,SPRING

SN: 10001-UP

4шт.

14

705-51-20070

PUMP ASS'Y

SN: 10001-UP

1шт.

15

07000-02105

O-RING

SN: 10001-UP

1шт.

16

01010-31235

BOLT

SN: 10001-UP

2шт.

17

01643-31232

WASHER

SN: 10001-UP

2шт.

18

419-15-14540

TUBE

SN: 10001-UP

1шт.

19

07000-03028

O-RING

SN: 10001-UP

1шт.

20

01010-30835

BOLT

SN: 10001-UP

4шт.

21

01602-00825

WASHER,SPRING

SN: 10001-UP

4шт.

22

07102-20610

HOSE

SN: 30001-UP

1шт.

|22

0

HOSE¤ 900MM

SN: (30001-.)

1шт.

23

205-62-53780

COVER

SN: 30001-UP

1шт.

24

08034-00519

BAND

SN: 30001-UP

2шт.

25

419-15-14670

ELBOW

SN: 10001-UP

2шт.

26

07002-03334

O-RING

SN: 10001-UP

2шт.

27

419-15-14800

FILTER ASS'Y

SN: 10001-UP

1шт.

28

419-15-14580

SUPPORT

SN: 10001-UP

1шт.

29

01010-31035

BOLT

SN: 10400-UP

4шт.

30

01643-31032

WASHER

SN: 10001-UP

4шт.

31

01010-31235

BOLT

SN: 10001-UP

2шт.

32

01010-31270

BOLT

SN: 20001-UP

1шт.

33

01643-31232

WASHER

SN: 20001-UP

3шт.

34

419-15-14742

HOSE

SN: 20001-UP

1шт.

35

07235-10628

ELBOW

SN: 30111-UP

1шт.

|35

0

ELBOW

SN: 30001-30110

1шт.

36

07002-02434

O-RING

SN: 10001-UP

1шт.

37

07239-12410

NUT

SN: 10001-30110

1шт.

38

419-15-15022

CONTROL VALVE ASS'Y

SN: 20001-UP

1шт.

|38

0

CONTROL VALVE ASS'Y

SN: (20001-30568)

1шт.

39

419-15-16821

GASKET

SN: 20001-UP

1шт.

|39

0

GASKET

SN: (20001-30568)

1шт.

40

01011-31020

BOLT

SN: 20001-UP

4шт.

41

01011-31030

BOLT

SN: 20001-UP

2шт.

42

01011-31035

BOLT

SN: 20001-UP

4шт.

43

419-15-16680

BOLT

SN: 20001-UP

2шт.

44

419-15-16690

BOLT

SN: 30569-UP

1шт.

Выбрано товаров: 50