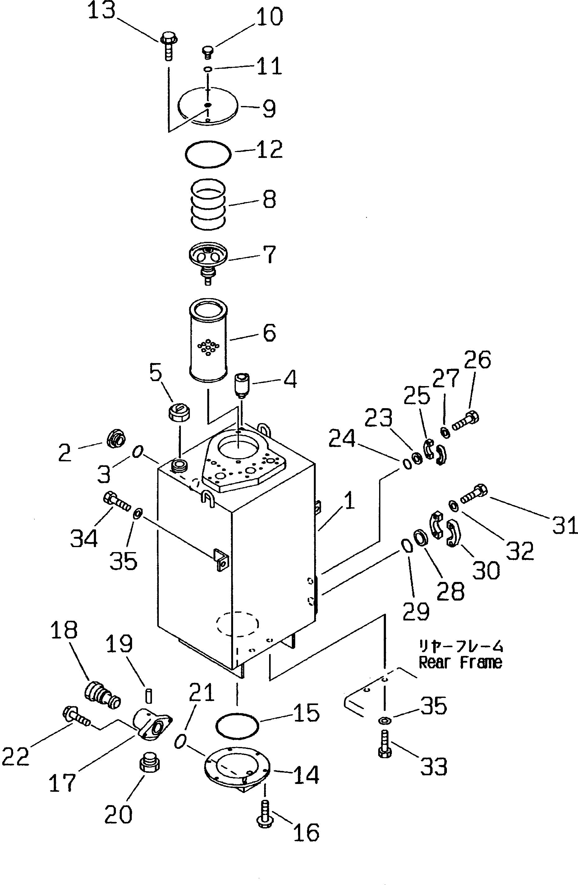
Запчасти Komatsu WA300-3A-X ГИДР. БАК.(№-) УПРАВЛ-Е РАБОЧИМ ОБОРУДОВАНИЕМ

Схема запчастей Komatsu WA300-3A-X - ГИДР. БАК.(№-) УПРАВЛ-Е РАБОЧИМ ОБОРУДОВАНИЕМ
FIT
1:1
100%

Артикул

Название

Примечание

Количество

1

419-60-25110

TANK

SN: 50001-UP

1шт.

2

421-60-11622

GAUGE,SIGHT

SN: 50001-UP

1шт.

3

07002-05234

O-RING

SN: 50001-UP

1шт.

4

419-60-15231

BREATHER ASS'Y

SN: 50001-UP

1шт.

|4

285-62-17320

ELEMENT

SN: 50001-UP

1шт.

|4

419-60-15370

O-RING

SN: 50001-UP

2шт.

|4

419-60-15380

O-RING

SN: 50001-UP

1шт.

|4

419-60-15390

O-RING

SN: 50001-UP

1шт.

|4

424-60-15220

RING,SNAP

SN: 50001-UP

1шт.

5

07051-01000

CAP

SN: 50001-UP

1шт.

|5

07051-00003

GASKET

SN: 50001-UP

1шт.

6

07063-01142

ELEMENT

SN: 50001-UP

1шт.

7

195-60-16300

VALVE ASS'Y

SN: 50001-UP

1шт.

8

195-60-16330

SPRING

SN: 50001-UP

1шт.

9

419-60-15350

COVER

SN: 50001-UP

1шт.

10

424-60-15150

PLUG

SN: 50001-UP

1шт.

11

07000-02010

O-RING

SN: 50001-UP

1шт.

12

07000-05175

O-RING

SN: 50001-UP

1шт.

13

01435-01225

BOLT

SN: 50001-UP

2шт.

14

425-60-15230

COVER

SN: 50001-UP

1шт.

15

07000-05200

O-RING

SN: 50001-UP

1шт.

16

01435-01025

BOLT

SN: 50001-UP

6шт.

|17

426-60-15150

VALVE ASS'Y

SN: 50001-UP

1шт.

17

6693-22-5610

BODY,VALVE

SN: 50001-UP

1шт.

18

6693-22-5620

VALVE

SN: 50001-UP

1шт.

19

04020-00514

PIN,DOWEL

SN: 50001-UP

1шт.

20

426-60-15160

PLUG

SN: 50001-UP

1шт.

21

07000-63028

O-RING

SN: 50001-UP

1шт.

22

01435-01025

BOLT

SN: 50001-UP

2шт.

23

07378-11000

HEAD,SLEEVE

SN: 50001-UP

1шт.

24

07000-03032

O-RING

SN: 50001-UP

1шт.

25

07371-31049

FLANGE,SPLIT

SN: 50001-UP

2шт.

26

07372-21030

BOLT

SN: 50001-UP

4шт.

27

01643-51032

WASHER

SN: 50001-UP

4шт.

28

07378-11400

HEAD,SLEEVE

SN: 50001-UP

1шт.

29

07000-03048

O-RING

SN: 50001-UP

1шт.

30

07371-31465

FLANGE,SPLIT

SN: 50001-UP

2шт.

31

07372-21240

BOLT

SN: 50001-UP

4шт.

32

01643-51232

WASHER

SN: 50001-UP

4шт.

33

01010-31635

BOLT

SN: 50001-UP

2шт.

34

01010-31630

BOLT

SN: 50001-UP

2шт.

35

01643-31645

WASHER

SN: 50001-UP

4шт.

Выбрано товаров: 42