Запчасти Komatsu WA300-3A-XW БОКОВ. СДВИГ¤ PITCH И ANGLE SNOW PНИЗ. (С HYD. СОЕДИНИТ. УСТР-ВО) (/) (ОТВАЛ)(№-) СПЕЦ. APPLICATION ЧАСТИ

Схема запчастей Komatsu WA300-3A-XW - БОКОВ. СДВИГ¤ PITCH И ANGLE SNOW PНИЗ. (С HYD. СОЕДИНИТ. УСТР-ВО) (/) (ОТВАЛ)(№-) СПЕЦ. APPLICATION ЧАСТИ
FIT
1:1
100%

Артикул

Название

Примечание

Количество

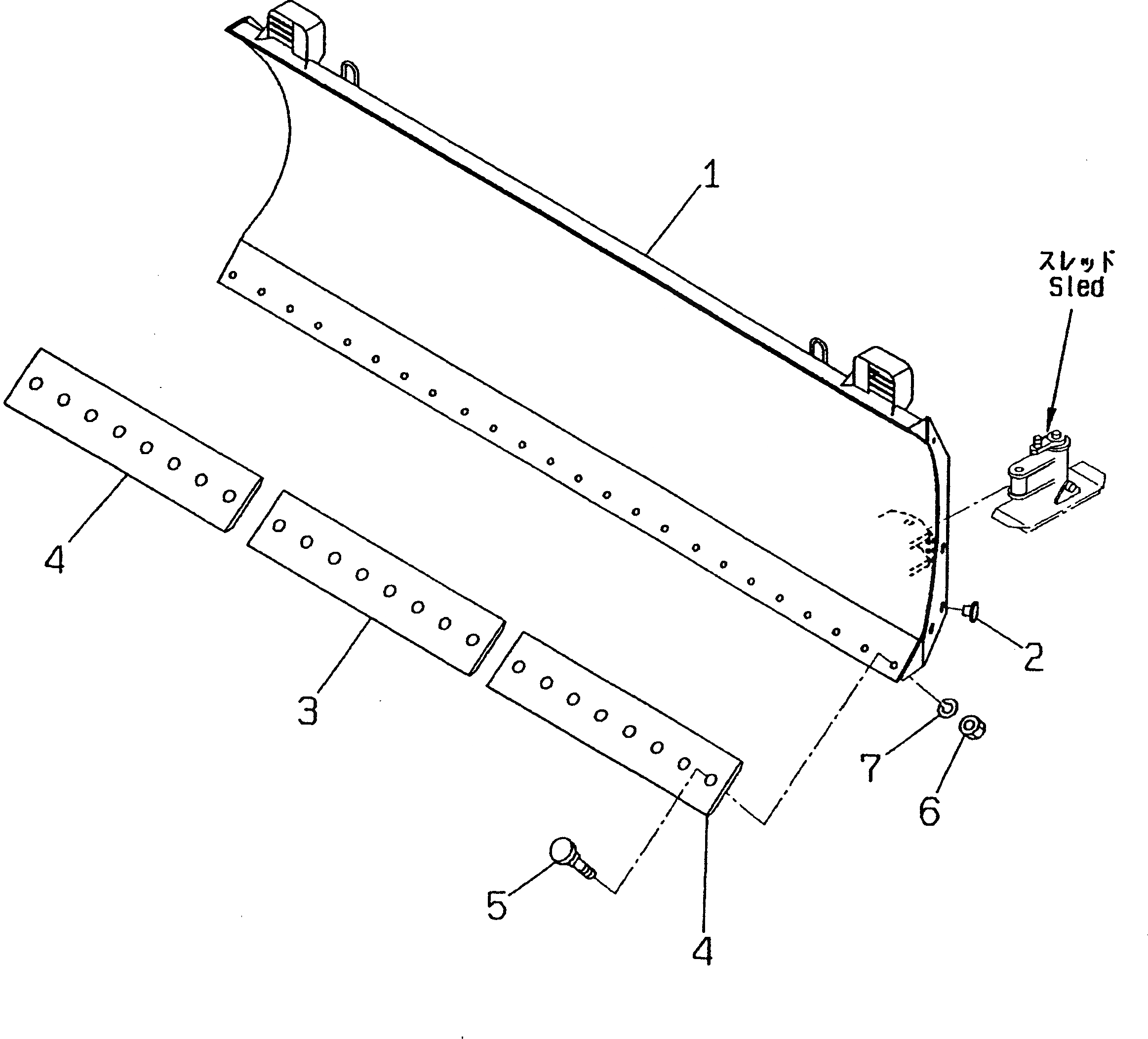
1

419-905-1113

BLADE

SN: .-UP

1шт.

|1

0

BLADE

SN: 50001-.

1шт.

2

07048-01610

PLUG

SN: 50001-UP

6шт.

3

419-904-1121

EDGE,CUTTING

SN: 50001-UP

1шт.

4

423-904-1131

EDGE,CUTTING

SN: 50001-UP

2шт.

5

02090-11470

BOLT

SN: 50001-UP

24шт.

6

02290-11422

NUT

SN: 50001-UP

24шт.

7

01602-02268

WASHER,SPRING

SN: 50001-UP

24шт.

Выбрано товаров: 8