Запчасти Komatsu WA300-3A-XW КЛАПАН УПРАВЛЕНИЯ ТРАНСМИССИЕЙ (/) (СОЛЕНОИДНЫЙ КЛАПАН)(СНЕГОУБОРОЧН. СПЕЦ-Я.)(№-) ТРАНСМИССИЯ

Схема запчастей Komatsu WA300-3A-XW - КЛАПАН УПРАВЛЕНИЯ ТРАНСМИССИЕЙ (/) (СОЛЕНОИДНЫЙ КЛАПАН)        (СНЕГОУБОРОЧН. СПЕЦ-Я.)(№-) ТРАНСМИССИЯ
FIT
1:1
100%

Артикул

Название

Примечание

Количество

|1

714-16-10031

TRANSMISSION ASS'Y

SN: (83187)-UP

1шт.

|1

0

TRANSMISSION ASS'Y

SN: 50001-(83186)

1шт.

|$$3

THESE ASSEMBLIES CONSIST OF ALL PARTS SHOWN IN FIGS.2301 TO 2371.

-1шт.

|1

714-12-17002

VALVE ASS'Y,TRANSMISSION

SN: (83160)-UP

1шт.

|1

0

VALVE ASS'Y,TRANSMISSION

SN: (83139)-(83159)

1шт.

|1

0

VALVE ASS'Y,TRANSMISSION

SN: 50001-(83138)

1шт.

|$$7

THESE ASSEMBLIES CONSIST OF ALL PARTS SHOWN IN FIGS.2342 TO 2344.

-1шт.

|1

714-12-17020

VALVE ASS'Y,LOWER

SN: 50001-UP

1шт.

|$$9

THIS ASSEMBLY CONSISTS OF ALL PARTS SHOWN IN FIGS.2342 AND 2343.

-1шт.

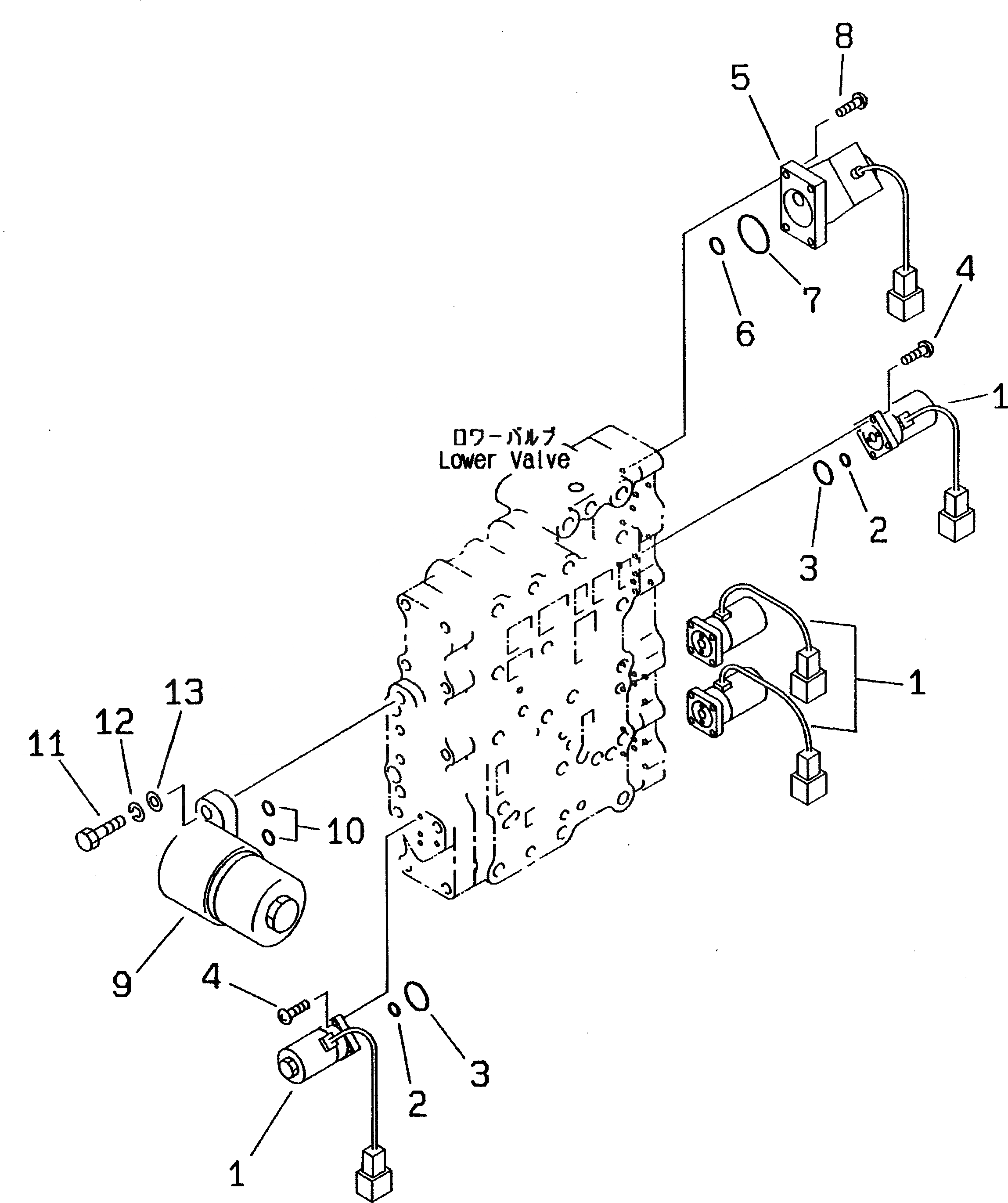
1

714-10-16951

VALVE ASS'Y,SOLENOID

SN: 50001-UP

4шт.

2

714-10-16960

O-RING (K2)

SN: 50001-UP

1шт.

3

714-10-16970

O-RING (K2)

SN: 50001-UP

1шт.

4

01220-40412

SCREW

SN: 50001-UP

16шт.

5

714-07-16730

VALVE ASS'Y,SOLENOID

SN: 50001-UP

1шт.

6

421-06-16510

O-RING (K2)

SN: 50001-UP

1шт.

7

421-06-16520

O-RING (K2)

SN: 50001-UP

1шт.

8

01220-40416

SCREW

SN: 50001-UP

4шт.

9

419-15-16660

FILTER ASS'Y,PILOT

SN: 50001-UP

1шт.

|9

419-15-16930

ELEMENT

SN: 50001-UP

1шт.

|9

419-15-16940

HEAD

SN: 50001-UP

1шт.

|9

419-15-16950

O-RING

SN: 50001-UP

1шт.

|9

419-15-16960

CASE,FILTER

SN: 50001-UP

1шт.

10

07000-02014

O-RING (K2)

SN: 50001-UP

2шт.

11

01010-31035

BOLT

SN: 50001-UP

2шт.

12

01602-01030

WASHER,SPRING

SN: 50001-UP

2шт.

13

01642-21016

WASHER

SN: 50001-UP

2шт.

Выбрано товаров: 26