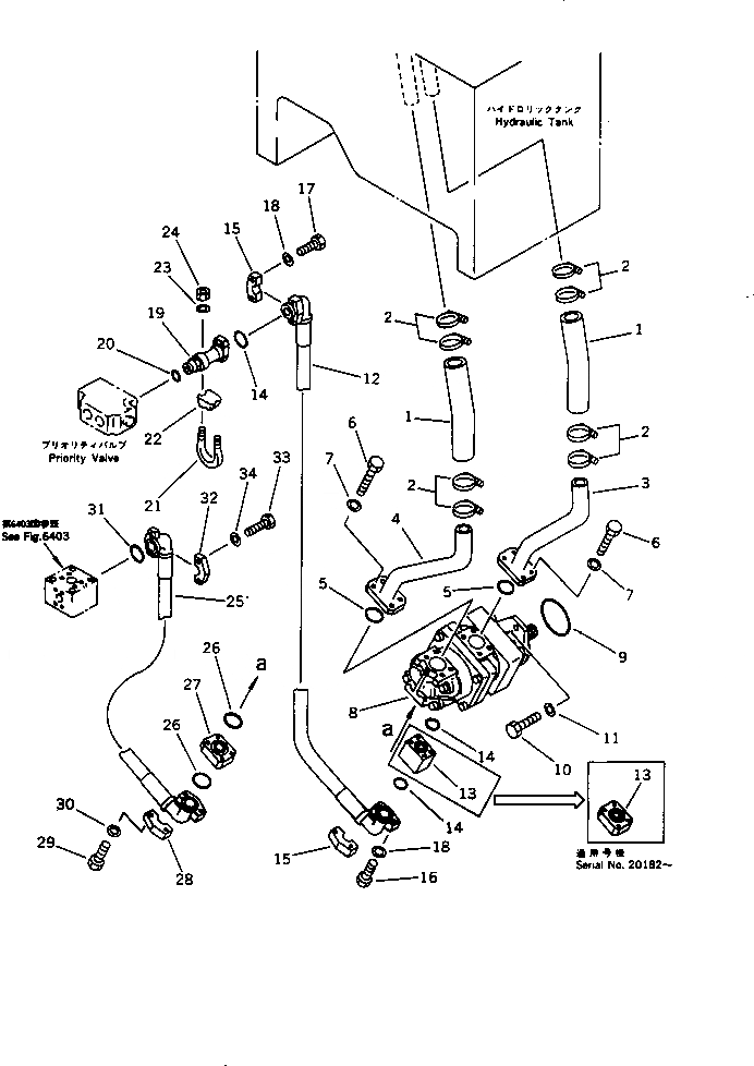
/ / / / / / ГИДРОЛИНИЯ (ИЗ БАКА В НАСОС - КЛАПАН)(№-)
Запчасти Komatsu WA320-1 ГИДРОЛИНИЯ (ИЗ БАКА В НАСОС - КЛАПАН)(№-) УПРАВЛ-Е РАБОЧИМ ОБОРУДОВАНИЕМ
1
07260-04140
HOSE
SN: 20001-UP
2шт.
2
07281-00609
CLAMP
SN: 20001-UP
8шт.
3
419-62-11580
TUBE
SN: 20001-UP
1шт.
4
419-62-11570
TUBE
SN: 20001-UP
1шт.
5
07000-02060
O-RING
SN: 20001-UP
2шт.
6
01010-51240
BOLT
SN: 20001-UP
8шт.
7
01643-31232
WASHER
SN: 20001-UP
8шт.
8
705-51-32080
PUMP ASS'Y
SN: 20001-UP
1шт.
9
07000-02130
O-RING
SN: 20001-UP
1шт.
10
01010-51645
BOLT
SN: 20001-UP
2шт.
11
01643-31645
WASHER
SN: 20001-UP
2шт.
12
419-62-11731
HOSE,(WA320-1M,1P)
SN: 20182-UP
1шт.
12
419-62-11730
HOSE,(WA320-1M,1P)
SN: 20001-20181
1шт.
13
07373-11000
SPACER,(WA320-1M,1P)
SN: 20182-UP
1шт.
13
419-877-1320
FLANGE,(WA3201-M,1P)
SN: 20001-20181
1шт.
14
07000-13032
O-RING
SN: 20001-UP
3шт.
15
07371-31049
FLANGE,SPLIT
SN: 20001-UP
4шт.
16
07372-21040
BOLT,(WA320-1M,1P)
SN: 20182-UP
4шт.
16
419-877-1340
BOLT,(WA320-1M,1P)
SN: 20001-20181
4шт.
17
07372-21035
BOLT
SN: 20001-UP
4шт.
18
01643-51032
WASHER
SN: 20001-UP
8шт.
19
418-62-13890
TUBE
SN: 20001-UP
1шт.
20
418-62-11630
O-RING
SN: 20001-UP
1шт.
21
07283-23450
CLIP
SN: 20001-UP
1шт.
22
07283-53444
SEAT
SN: 20001-UP
1шт.
23
01643-31032
WASHER
SN: 20001-UP
2шт.
24
01599-01011
NUT
SN: 20001-UP
2шт.
25
419-62-11740
HOSE
SN: 20001-UP
1шт.
26
07000-13032
O-RING
SN: 20001-UP
2шт.
27
07373-11000
SPACER
SN: 20001-UP
1шт.
28
07371-31049
FLANGE,SPLIT
SN: 20001-UP
2шт.
29
07372-21040
BOLT
SN: 20001-UP
4шт.
30
01643-51032
WASHER
SN: 20001-UP
4шт.
31
07000-13025
O-RING
SN: 20001-UP
1шт.
32
07371-30638
FLANGE,SPLIT
SN: 20001-UP
2шт.
33
01010-50830
BOLT
SN: 20001-UP
4шт.
34
01643-50823
WASHER
SN: 20001-UP
4шт.
Выбрано товаров: 0