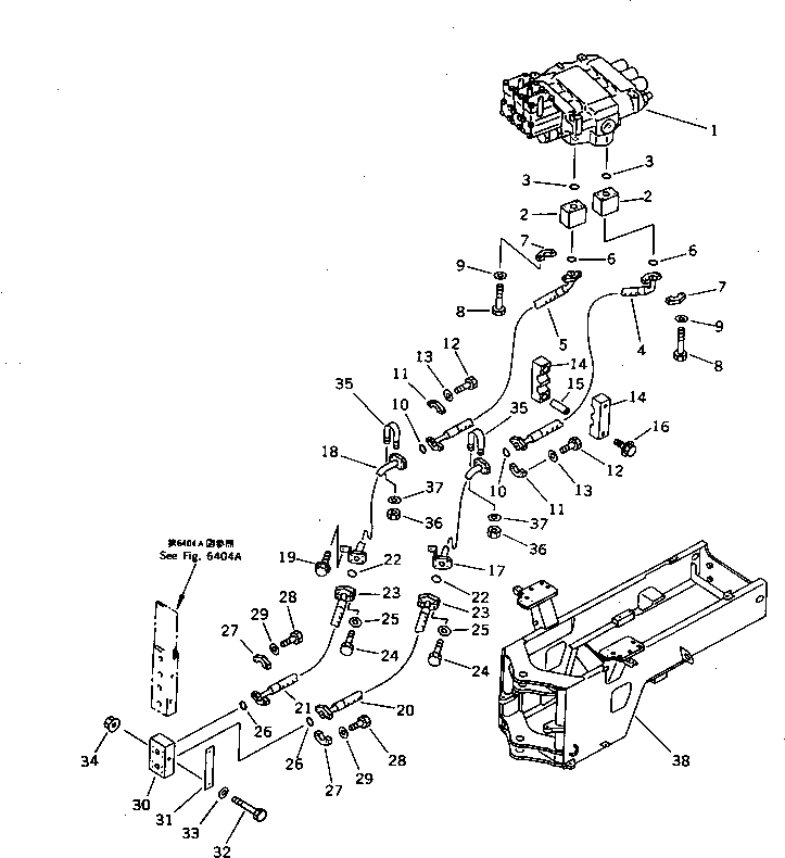
Запчасти Komatsu WA320-1 ГИДРОЛИНИЯ (ПЕРЕДН. НАВЕСН. ОБОРУД) (/)(№-) УПРАВЛ-Е РАБОЧИМ ОБОРУДОВАНИЕМ

Схема запчастей Komatsu WA320-1 - ГИДРОЛИНИЯ (ПЕРЕДН. НАВЕСН. ОБОРУД) (/)(№-) УПРАВЛ-Е РАБОЧИМ ОБОРУДОВАНИЕМ
FIT
1:1
100%

Артикул

Название

Примечание

Количество

1

700-93-39002

VALVE ASS'Y

SN: 10001-UP

1шт.

2

419-877-1320

FLANGE

SN: 10001-UP

2шт.

3

07000-13032

O-RING

SN: 10001-UP

2шт.

4

418-877-1481

HOSE

SN: 20001-UP

1шт.

5

419-877-1471

HOSE

SN: 20001-UP

1шт.

6

07000-13032

O-RING

SN: 10001-UP

2шт.

7

07371-31049

FLANGE,SPLIT

SN: 10001-UP

4шт.

8

419-877-1340

BOLT

SN: 10001-UP

8шт.

9

01643-51032

WASHER

SN: 10001-UP

8шт.

10

07000-13025

O-RING

SN: 10001-UP

2шт.

11

07371-30638

FLANGE,SPLIT

SN: 10001-UP

4шт.

12

01010-50830

BOLT

SN: 20001-UP

8шт.

13

01643-50823

WASHER

SN: 10001-UP

8шт.

14

418-877-1140

CLAMP

SN: 20001-UP

2шт.

15

418-877-1130

SPACER

SN: 20001-UP

2шт.

16

01435-01090

BOLT

SN: 20001-UP

2шт.

17

419-877-1422

TUBE

SN: 20001-UP

1шт.

18

419-877-1412

TUBE

SN: 20001-UP

1шт.

19

01435-01030

BOLT

SN: 20001-UP

2шт.

20

419-877-1510

HOSE

SN: 10001-UP

1шт.

21

419-877-1490

HOSE

SN: 10001-UP

1шт.

22

07000-13025

O-RING

SN: 10001-UP

2шт.

23

07371-30638

FLANGE,SPLIT

SN: 10001-UP

4шт.

24

01010-30830

BOLT

SN: 10001-UP

8шт.

25

01643-50823

WASHER

SN: 10001-UP

8шт.

26

07000-13032

O-RING

SN: 10001-UP

2шт.

27

07371-31049

FLANGE,SPLIT

SN: 10001-UP

4шт.

28

07372-21035

BOLT

SN: 20001-UP

8шт.

29

01643-51032

WASHER

SN: 10001-UP

8шт.

30

419-877-1540

BLOCK

SN: 10001-UP

1шт.

31

419-877-1550

PLATE

SN: 10001-UP

1шт.

32

01011-51205

BOLT

SN: 20001-UP

2шт.

33

01643-31232

WASHER

SN: 20001-UP

2шт.

34

01584-01210

NUT

SN: 20001-UP

2шт.

35

07283-22738

CLIP

SN: 10001-UP

2шт.

36

01599-01011

NUT

SN: 10001-UP

4шт.

37

01643-31032

WASHER

SN: 10001-UP

4шт.

38

419-877-1702

FRAME,(MODIFIED PART)

SN: 20001-UP

1шт.

Выбрано товаров: 38