Запчасти Komatsu WA320-1 КОРПУС ТРАНСМИССИИ (/) ГИДРОТРАНСФОРМАТОР И ТРАНСМИССИЯ

Схема запчастей Komatsu WA320-1 - КОРПУС ТРАНСМИССИИ (/) ГИДРОТРАНСФОРМАТОР И ТРАНСМИССИЯ
FIT
1:1
100%

Артикул

Название

Примечание

Количество

|$0

419-15-11051

TRANSMISSION ASS'Y

SN: 20001-UP

1шт.

|$1

419-15-11050

TRANSMISSION ASS'Y

SN: 10001-19999

1шт.

|$2

419-15-11060

TRANSMISSION ASS'Y,(WITH EMERGENCY STEERING)

SN: 10001-UP

1шт.

|$$4

THESE ASSEMBLIES CONSIST OF ALL PARTS SHOWN IN FIGS.2211 TO 2271.

-1шт.

|$4

419-15-18014

CASE ASS'Y

SN: 10001-UP

1шт.

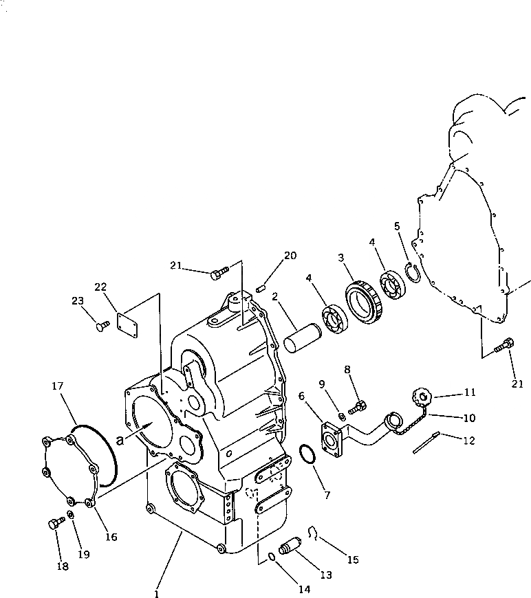
1

0

CASE

SN: 10001-UP

1шт.

2

0

SHAFT,IDLER

SN: 10001-UP

1шт.

3

419-15-12821

GEAR,IDLER

SN: 10001-UP

1шт.

4

06033-06212

BEARING

SN: 10001-UP

2шт.

5

04064-06020

RING,SNAP

SN: 10001-UP

1шт.

6

419-15-14412

TUBE,FILLER

SN: 10001-UP

1шт.

7

07000-02065

O-RING

SN: 10001-UP

1шт.

8

01010-31040

BOLT

SN: 10001-UP

4шт.

9

01643-31032

WASHER

SN: 10001-UP

4шт.

10

6136-21-7190

CHAIN

SN: 10001-UP

1шт.

11

6136-21-7120

CAP ASS'Y

SN: 10001-UP

1шт.

12

419-15-14424

GAUGE

SN: 10001-UP

1шт.

13

419-15-18240

PLUG

SN: 10001-UP

1шт.

14

07002-02434

O-RING

SN: 10001-UP

1шт.

15

419-15-18251

RING,SNAP

SN: 10001-UP

1шт.

16

419-15-18260

COVER,(WITHOUT EMERGENCY STEERING)

SN: 10001-UP

1шт.

16

419-15-18270

COVER,(WITH EMERGENCY STEERING)

SN: 10001-UP

1шт.

16

419-15-18270

COVER,(W/EMERGENCY STEERING) (1M,1D)

SN: 20001-UP

1шт.

17

07000-05220

O-RING

SN: 10001-UP

1шт.

18

01010-31235

BOLT

SN: 10001-UP

6шт.

19

01643-31232

WASHER

SN: 10001-UP

6шт.

20

04020-01434

PIN,DOWEL

SN: 10001-UP

2шт.

21

01010-31235

BOLT

SN: 10001-UP

12шт.

22

22X-22-13171

PLATE, NAME,(LIMITED SUPPLY)

SN: 10001-UP

1шт.

23

04418-03060

SCREW

SN: 10001-UP

4шт.

24

419-15-14250

GEAR,(WITH EMERGENCY STEERING)

SN: 10001-UP

1шт.

24

419-15-14250

GEAR,(W/EMERGENCY STEERING) (1M,1D)

SN: 20001-UP

1шт.

25

06030-06008

BEARING,(WITH EMERGENCY STEERING)

SN: 10001-UP

2шт.

25

06030-06008

BEARING,(W/EMERGENCY STEERING) (1M,1D)

SN: 20001-UP

2шт.

26

04065-06825

RING,(WITH EMERGENCY STEERING)

SN: 10001-UP

1шт.

26

04065-06825

RING,(W/EMERGENCY STEERING) (1M,1D)

SN: 20001-UP

1шт.

27

04064-04018

RING,(WITH EMERGENCY STEERING)

SN: 10001-UP

1шт.

27

04064-04018

RING,(W/EMERGENCY STEERING) (1M,1D)

SN: 20001-UP

1шт.

28

417-15-14160

COVER,(WITH EMERGENCY STEERING)

SN: 10001-UP

1шт.

29

07000-02105

O-RING,(WITH EMERGENCY STEERING)

SN: 10001-UP

1шт.

30

01010-31235

BOLT,(WITH EMERGENCY STEERING)

SN: 10001-UP

2шт.

31

01643-31232

WASHER,(WITH EMERGENCY STEERING)

SN: 10001-UP

2шт.

32

419-15-18131

LIQUID GASKET,(NOT SHOWN)

SN: 10001-UP

1шт.

32

0

LIQUID GASKET,(NOT SHOWN)

SN: (10001-.)

1шт.

Выбрано товаров: 44