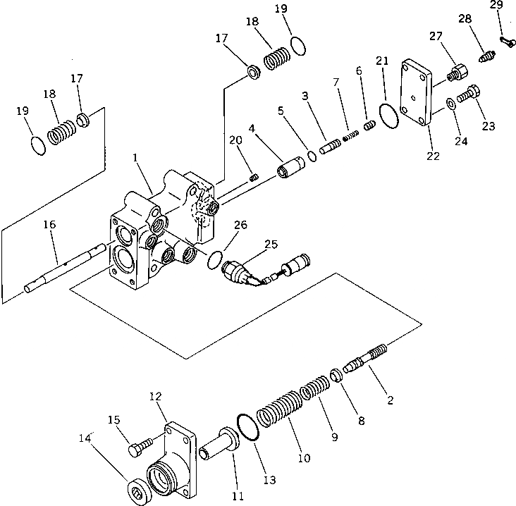
Запчасти Komatsu WA320-1 ТОРМОЗНОЙ КЛАПАН(№-) ВЕДУЩ. ВАЛ¤ ДИФФЕРЕНЦ. И КОЛЕСА

Схема запчастей Komatsu WA320-1 - ТОРМОЗНОЙ КЛАПАН(№-) ВЕДУЩ. ВАЛ¤ ДИФФЕРЕНЦ. И КОЛЕСА
FIT
1:1
100%

Артикул

Название

Примечание

Количество

|$0

419-43-12102

VALVE ASS'Y

SN: 20001-UP

1шт.

1

419-43-12130

HOUSING

SN: 20001-UP

1шт.

2

419-43-12190

SPOOL

SN: 20001-UP

1шт.

3

419-43-12210

PISTON

SN: 20001-UP

1шт.

4

419-43-12230

SLEEVE

SN: 20001-UP

1шт.

5

07000-02016

O-RING

SN: 20001-UP

1шт.

6

419-43-12280

PISTON

SN: 20001-UP

1шт.

7

419-43-12220

SPRING

SN: 20001-UP

1шт.

8

419-43-12180

RETAINER

SN: 20001-UP

1шт.

9

419-43-12160

SPRING

SN: 20001-UP

1шт.

10

419-43-12170

SPRING

SN: 20001-UP

1шт.

11

419-43-12150

ROD

SN: 20001-UP

1шт.

12

419-43-12110

COVER

SN: 20001-UP

1шт.

13

07000-03045

O-RING

SN: 20001-UP

1шт.

14

419-43-12120

SEAL,OIL

SN: 20001-UP

1шт.

15

07372-01030

BOLT

SN: 20001-UP

4шт.

16

419-43-12251

SPOOL

SN: 20001-UP

1шт.

17

419-43-12180

RETAINER

SN: 20001-UP

2шт.

18

419-43-12270

SPRING

SN: 20001-UP

2шт.

19

07000-03028

O-RING

SN: 20001-UP

2шт.

20

419-43-12960

ORIFICE

SN: 20001-UP

1шт.

21

07000-03038

O-RING

SN: 20001-UP

1шт.

22

419-43-12142

PLATE

SN: 20001-UP

1шт.

23

07372-01040

BOLT

SN: 20001-UP

4шт.

24

01643-51032

WASHER

SN: 20001-UP

4шт.

25

421-06-11982

SWITCH,(WA320-1M,1P)

SN: 20229-UP

1шт.

25

0

SWITCH,(WA320-1M,1P)

SN: 20001-20228

1шт.

26

07002-02034

O-RING

SN: 20001-UP

1шт.

27

581-32-12140

PLUG

SN: 20001-UP

1шт.

28

566-32-11430

BLEEDER

SN: 20001-UP

1шт.

29

566-32-11620

CAP

SN: 20001-UP

1шт.

Выбрано товаров: 31