Запчасти Komatsu WA320-1 НАКАЧИВАНИЕ ШИН (/)(№-) ВЕДУЩ. ВАЛ¤ ДИФФЕРЕНЦ. И КОЛЕСА

Схема запчастей Komatsu WA320-1 - НАКАЧИВАНИЕ ШИН (/)(№-) ВЕДУЩ. ВАЛ¤ ДИФФЕРЕНЦ. И КОЛЕСА
FIT
1:1
100%

Артикул

Название

Примечание

Количество

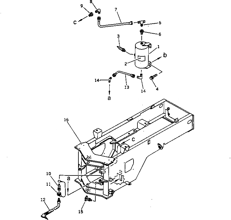
1

419-Z66-1240

RESERVOIR,(MODIFIED PART)

SN: 20001-UP

1шт.

2

09152-03000

PLATE, SAFETY

SN: 10001-UP

1шт.

3

566-35-42350

VALVE,SAFETY

SN: 10001-UP

1шт.

4

01435-01020

BOLT

SN: 20001-UP

4шт.

5

427-35-12440

TEE

SN: 20001-UP

1шт.

6

283-35-11120

ADAPTER

SN: 10001-UP

1шт.

7

419-Z66-1611

TUBE

SN: 20001-UP

1шт.

8

421-09-12540

ELBOW

SN: 20001-UP

1шт.

9

202-62-21330

BUSHING

SN: 10001-UP

1шт.

10

07880-10500

SOCKET

SN: 10001-UP

1шт.

11

426-35-15410

CAP

SN: 10001-UP

1шт.

12

09288-00005

HOSE

SN: 10001-UP

1шт.

13

419-Z66-1170

TUBE

SN: 20001-UP

1шт.

14

421-09-12540

ELBOW

SN: 20001-UP

2шт.

15

565-44-12700

VALVE ASS'Y

SN: 10001-UP

1шт.

16

419-Z66-1211

FRAME,REAR (MODIFIED PART)

SN: 20001-UP

1шт.

Выбрано товаров: 0