Запчасти Komatsu WA320-1 КРЫЛО И ЛЕСТНИЦА (БЕЗ КАБИНЫ)(№-9999) РАМА И ЧАСТИ КОРПУСА

Схема запчастей Komatsu WA320-1 - КРЫЛО И ЛЕСТНИЦА (БЕЗ КАБИНЫ)(№-9999) РАМА И ЧАСТИ КОРПУСА
FIT
1:1
100%

Артикул

Название

Примечание

Количество

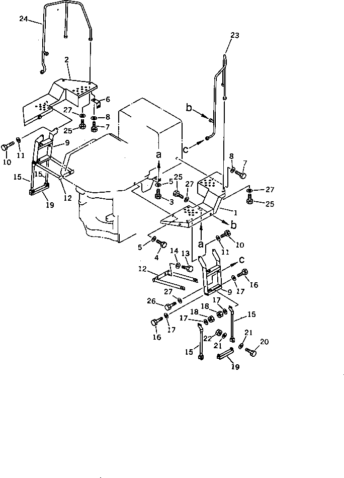
1

419-54-11561

FENDER,L.H.

SN: 10001-19999

1шт.

2

419-54-11551

FENDER,R.H.

SN: 10001-19999

1шт.

3

01010-51225

BOLT

SN: 10001-19999

4шт.

4

01010-51245

BOLT

SN: 10001-19999

2шт.

5

01643-31232

WASHER

SN: 10001-19999

6шт.

6

419-54-11750

BRACKET

SN: 10001-@

2шт.

7

01010-51230

BOLT

SN: 10001-19999

4шт.

8

01643-31232

WASHER

SN: 10001-19999

4шт.

9

419-54-14360

LADDER

SN: 10001-@

2шт.

10

01010-51235

BOLT

SN: 10001-19999

4шт.

11

01643-31232

WASHER

SN: 10001-19999

4шт.

12

419-54-14370

STAY

SN: 10001-19999

2шт.

13

01010-51240

BOLT

SN: 10001-19999

4шт.

14

01643-31232

WASHER

SN: 10001-19999

4шт.

15

423-54-14260

ROPE,STEP

SN: 10001-19999

4шт.

16

01010-51245

BOLT

SN: 10001-19999

8шт.

17

01643-31232

WASHER

SN: 10001-19999

16шт.

18

01580-11210

NUT

SN: 10001-19999

8шт.

19

423-54-12770

STEP

SN: 10001-@

2шт.

20

01010-51265

BOLT

SN: 10001-19999

4шт.

21

01643-31232

WASHER

SN: 10001-19999

8шт.

22

426-43-19150

NUT

SN: 10001-@

4шт.

23

419-54-12182

HANDRAIL,L.H.

SN: 10001-@

1шт.

24

419-54-12192

HANDRAIL,R.H.

SN: 10001-@

1шт.

25

01010-51225

BOLT

SN: 10001-19999

6шт.

26

01010-51230

BOLT

SN: 10001-19999

2шт.

27

01643-31232

WASHER

SN: 10001-19999

8шт.

Выбрано товаров: 27