Запчасти Komatsu WA320-1 КРЫЛО И ЛЕСТНИЦА (БЕЗ КАБИНЫ)(№-) РАМА И ЧАСТИ КОРПУСА

Схема запчастей Komatsu WA320-1 - КРЫЛО И ЛЕСТНИЦА (БЕЗ КАБИНЫ)(№-) РАМА И ЧАСТИ КОРПУСА
FIT
1:1
100%

Артикул

Название

Примечание

Количество

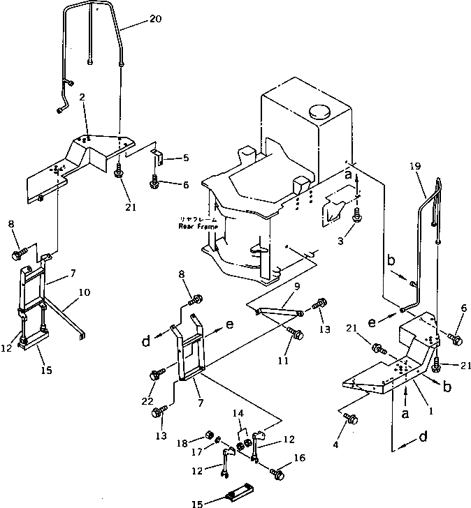
1

419-54-11562

FENDER,L.H.

SN: 20001-UP

1шт.

2

419-54-11552

FENDER,R.H.

SN: 20001-UP

1шт.

3

01435-01220

BOLT

SN: 20001-UP

4шт.

4

01435-01260

BOLT

SN: 20001-UP

4шт.

5

419-54-11750

BRACKET

SN: 10001-UP

2шт.

6

01435-01230

BOLT

SN: 20001-UP

4шт.

7

419-54-14360

LADDER

SN: 10001-UP

2шт.

8

01435-01235

BOLT

SN: 20001-UP

4шт.

9

419-54-14570

SUPPORT,L.H.

SN: 20001-UP

1шт.

10

419-54-14580

SUPPORT,R.H.

SN: 20001-UP

1шт.

11

01435-01240

BOLT

SN: 20001-UP

2шт.

12

419-54-14490

WIREROPE,STEP

SN: 20001-UP

4шт.

13

01435-01245

BOLT

SN: 20001-UP

8шт.

14

01580-01210

NUT

SN: 20001-UP

8шт.

15

423-54-12770

STEP

SN: 10001-UP

2шт.

16

01435-01270

BOLT

SN: 20001-UP

4шт.

17

01643-31232

WASHER

SN: 20001-UP

4шт.

18

426-43-19150

NUT

SN: 10001-UP

4шт.

19

419-54-12182

HANDRAIL,L.H.

SN: 10001-UP

1шт.

20

419-54-12192

HANDRAIL,R.H.

SN: 10001-UP

1шт.

21

01435-01225

BOLT

SN: 20001-UP

6шт.

22

01435-01230

BOLT

SN: 20001-UP

2шт.

Выбрано товаров: 22