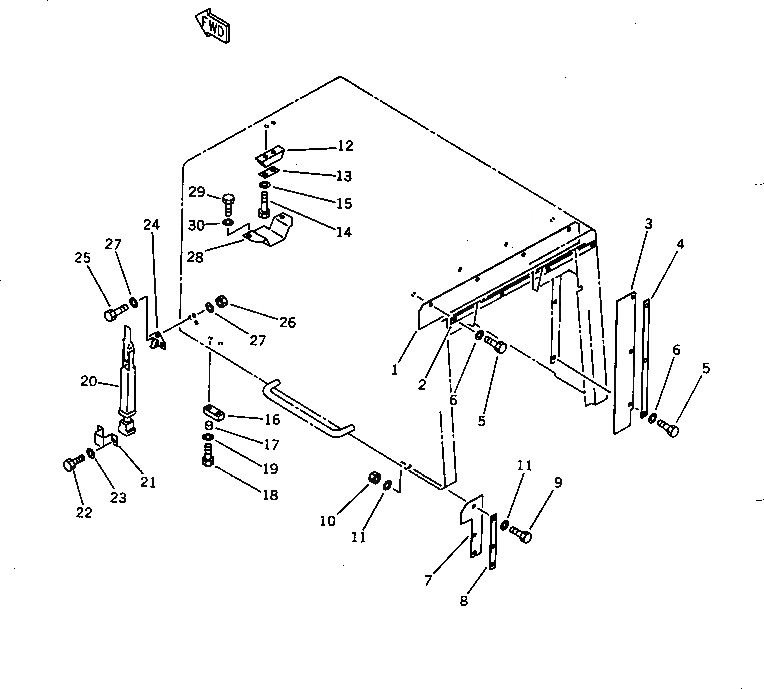
Запчасти Komatsu WA320-1 ЗАЩИТА РАДИАТОРА AND КАПОТ (/)(№-9999) РАМА И ЧАСТИ КОРПУСА

Схема запчастей Komatsu WA320-1 - ЗАЩИТА РАДИАТОРА AND КАПОТ (/)(№-9999) РАМА И ЧАСТИ КОРПУСА
FIT
1:1
100%

Артикул

Название

Примечание

Количество

1

419-54-11360

SHEET

SN: 10001-@

1шт.

2

419-54-11370

PLATE

SN: 10001-@

1шт.

3

419-54-11190

SHEET

SN: 10001-@

2шт.

4

419-54-11390

PLATE

SN: 10001-@

2шт.

5

01010-50825

BOLT

SN: 10001-19999

10шт.

6

01643-30823

WASHER

SN: 10001-19999

10шт.

7

419-54-11620

SHEET

SN: 10001-@

2шт.

8

419-54-11610

SHEET

SN: 10001-@

4шт.

9

01010-50825

BOLT

SN: 10001-19999

6шт.

10

01580-10806

NUT

SN: 10001-19999

2шт.

11

01643-30823

WASHER

SN: 10001-19999

8шт.

12

424-54-11560

BLOCK

SN: 10001-@

1шт.

13

424-54-11570

PLATE

SN: 10001-@

1шт.

14

01010-51020

BOLT

SN: 10001-19999

2шт.

15

01643-31032

WASHER

SN: 10001-19999

2шт.

16

419-54-11690

SEAT

SN: 10001-@

2шт.

17

424-54-14380

COLLAR

SN: 10001-@

4шт.

18

01010-50830

BOLT

SN: 10001-@

4шт.

19

154-61-16570

WASHER

SN: 10001-@

4шт.

|$19

423-54-11500

CATCH ASS'Y

SN: 10001-19999

2шт.

20

423-54-11720

CATCH

SN: 10001-19999

1шт.

21

423-54-11710

BRACKET

SN: 10001-19999

1шт.

22

01010-50816

BOLT

SN: 10001-19999

4шт.

23

01643-30823

WASHER

SN: 10001-19999

4шт.

24

423-54-11481

HOOK

SN: 10001-19999

2шт.

25

01010-50620

BOLT

SN: 10001-19999

6шт.

26

01580-10605

NUT

SN: 10001-19999

6шт.

27

01643-30623

WASHER

SN: 10001-19999

12шт.

28

419-54-11430

SUPPORT

SN: 10001-@

1шт.

29

01010-51225

BOLT

SN: 10001-19999

2шт.

30

01643-31232

WASHER

SN: 10001-19999

2шт.

Выбрано товаров: 31