Запчасти Komatsu WA320-1 АККУМУЛЯТОР(№-9999) КОМПОНЕНТЫ ДВИГАТЕЛЯ И ЭЛЕКТРИКА

Схема запчастей Komatsu WA320-1 - АККУМУЛЯТОР(№-9999) КОМПОНЕНТЫ ДВИГАТЕЛЯ И ЭЛЕКТРИКА
FIT
1:1
100%

Артикул

Название

Примечание

Количество

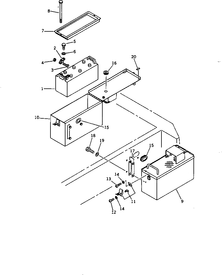
1

08000-32215

BATTERY, WET

SN: 10001-@

2шт.

1

08000-42215

BATTERY (145F51),DRY TYPE

SN: 10001-@

2шт.

1

419-Z28-1110

BATTERY, WET,(WA320-1M)

SN: 10001-@

2шт.

1

419-T30-1110

BATTERY, 12V 150AH,(WA320-1M,1P)

SN: 10001-@

2шт.

2

08000-00000

TERMINAL, (+)

SN: 10001-@

2шт.

2

08000-00001

TERMINAL, (-)

SN: 10001-@

2шт.

3

01010-30830

BOLT

SN: 10001-@

1шт.

4

01580-00806

NUT

SN: 10001-@

1шт.

5

01050-31018

BOLT

SN: 10001-@

1шт.

6

01640-01016

WASHER

SN: 10001-@

1шт.

7

418-06-11140

HOLDER

SN: 10001-@

2шт.

8

418-09-11120

BOLT

SN: 10001-@

4шт.

9

419-06-11411

BOX,L.H.

SN: 10001-19999

1шт.

10

419-06-11421

BOX,R.H.

SN: 10001-19999

1шт.

11

421-09-12321

HOLDER

SN: 10395-@

2шт.

11

0

HOLDER

SN: 10001-10394

2шт.

12

01220-40408

SCREW

SN: 10001-@

6шт.

13

01220-40410

SCREW

SN: 10001-@

4шт.

14

01641-20405

WASHER

SN: 10001-@

10шт.

15

426-09-11230

GROMMET

SN: 10001-@

2шт.

16

08037-02512

GROMMET

SN: 10001-19999

2шт.

17

423-06-11451

SHIM, 1.0MM

SN: 10001-@

6шт.

18

01010-31640

BOLT

SN: 10001-@

6шт.

19

01643-31645

WASHER

SN: 10001-@

6шт.

20

421-09-12780

CUSHION,(WA320-1M,1P)

SN: 10487-@

4шт.

Выбрано товаров: 25